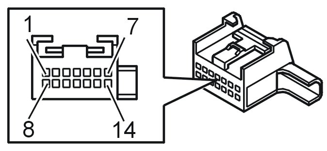
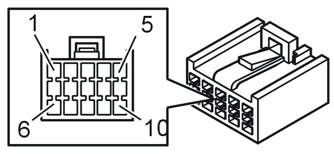
Signal Specification, Rear Electronic Module (REM)

Need a step-by-step guide?

Get an AI-powered repair guide with parts lists, cost estimates, and clear instructions for your Volvo hyperlink.

AI Repair Guides





Signal specification

General
All the values given below are between the terminals stated in column 1 and terminal #D12 in column 2 (power ground). This applies unless otherwise indicated in the last column.

Note! It is important to connect the breakout box and check the ground connections before starting to measure.