Vehicle Speed Sensor (VSS), Checking

Need a step-by-step guide?

Get an AI-powered repair guide with parts lists, cost estimates, and clear instructions for your Volkswagen hyperlink.

AI Repair Guides


Vehicle Speed Sensor (VSS), checking

Recommended special tools and equipment
- V.A.G 1526 multimeter or V.A.G 1715 multimeter
- V.A.G 1594 connector test kit
- Wiring diagram

Test requirements
- Selector lever must be in -P- position.
- Ground (GND) connections to transmission must be OK.
- Ignition switched off.

Checking wiring
- Connect test box to control module wiring harness.






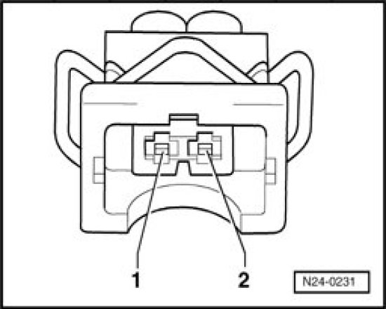
- Disconnect black connector from Vehicle Speed Sensor (VSS) -G68-.






- Check wires between test box and 2-pin connector to Transmission Control Module (TCM) for open circuit according to wiring diagram.
Terminal 1 + socket 65
Terminal 2 + socket 20
Wire resistance: max. 1.5 ohms

- Check wires for short circuit to each other, to vehicle Ground (GND) and to B+.
Specified value: infinite ohms

If no malfunctions are found in wires:
- Replace Vehicle Speed Sensor (VSS) -G68-.
- Erase DTC memory of Transmission Control Module (TCM).
- Generate readiness code.