PASSENGER CAR ZONING
Vehicle Zoning Table:
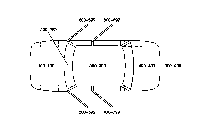
All grounds, in-line connectors, pass-through grommets, and splices have identifying numbers that correspond to where they are located in the vehicle. The above table explains the numbering system.
Need a step-by-step guide?
Get an AI-powered repair guide with parts lists, cost estimates, and clear instructions for your Chevrolet hyperlink.
Pair factory procedures with proven DIY tools so the instructions are easier to execute.
Affiliate disclosure: We may earn a commission at no extra cost to you.
More supporting gear
Use the factory procedure with the right tightening tool.
Manual-based work becomes much easier when you can torque correctly.
Shop on Amazon βUseful for clips, covers, and trim pieces called out by the manual.
Most manual procedures assume you have a good trim removal kit.
Shop on Amazon βGreat for electrical troubleshooting and manual-tested circuits.
Electrical work in manuals often needs a meter more than another wrench.
Shop on Amazon β