Part 1

Need a step-by-step guide?

Get an AI-powered repair guide with parts lists, cost estimates, and clear instructions for your 2013 Volvo.

AI Repair Guides





Design and function

Introduction
The battery type used in most cars is usually know as a lead accumulator. These batteries are so named because the electrodes are lead and the role of the battery is to store (accumulate) energy.
A key characteristic of lead accumulators is that they can meet the extreme physical requirements for charging and discharging. Lead accumulators provide optimal performance as both starter and reserve power batteries. Lead accumulators are relatively cheap to produce and can store large amounts of energy. As a result, lead accumulators make up in excess of 50% of the entire battery market.

Principle




A battery is a unit which stores chemical energy which can then be converted into electrical energy as required. When the battery is connected to an external source of consumption (the car starter motor for example), the stored chemical energy is converted into electrical energy and current flows through the circuit.
The start battery in a car, the lead accumulator, is rechargeable. Such a battery can be recharged repeatedly, whereby electrical energy is converted to chemical energy.

Function




The function of the battery in a car is to supply the car with a stable voltage in all situations. One of the tasks of the battery is to provide a current when starting the engine. Other tasks are to provide a current to components (such as the parking lamps) which require current when the engine is not running (i.e. when the generator (GEN) is not charging). The battery also operates as an energy reserve when the capacity of the generator (GEN) is insufficient and needs to be supplemented.

A battery works as follows
The battery consists of several cells. Schematically, a battery can be said to be made up of two electrodes, one positive and one negative. These electrodes are different materials, which are submerged in a container filled with electrolyte, often called battery acid. As a result of the different electrode materials, there is an electrical charge between the positive and negative electrodes. There is a chemical reaction between the electrodes and the electrolyte causing electrical energy to be generated. If the positive and the negative poles of the electrodes are connected to form a closed circuit, a current flows through the circuit.
In a lead accumulator, the positive electrode consists of lead oxide and the negative electrode of porous lead. The electrolyte consists of diluted sulfuric acid (H2SO4) which is a mixture of concentrated sulfuric acid and distilled or deionized water.

Battery types
In principle, lead batteries can be divided into two different categories:
- Open batteries
- Sealed batteries

Open batteries
In principle, open batteries have free-hanging plates in the battery box, most often insulated from each other by the negative plate being located in a small separator bag of polyethylene. The electrolyte is highly viscous and can flow freely between the plates.
A maintenance-free battery is normally an open battery where the design has reduced the gas and also has made the battery box so airtight that any gases stay in place. A lot of acid means that the fluid will last for its service life without topping up.

Sealed batteries (recombination batteries)
For sealed batteries the battery box is designed as a pressure vessel with relief valves and go under the name VRLA (Valve Regulated Lead Acid), that is, valve-controlled lead-acid batteries.
If you shut in the acid and hydrogen gas then these can react with each other and be reformed to water. This is called recombination and is a good way to almost completely eliminate fluid losses. It is not possible to shut in and recycle everything, but it can be reduced significantly. The sealed batteries can be divided into two groups:
- Gel batteries
- AGM-batteries
Gel batteries
A gel battery has a few substances, often silicone compounds, added in the electrolyte so that it gels. Thus there is no free-floating acid that can run out of the battery.
Gel batteries have good capacity, but due to the slightly higher resistance in the low viscosity acid, they may be limited as start batteries. They can handle deep cycle discharges very well, that is, when you slowly discharge the batteries a lot several times.
Gel batteries are very rugged and are often used, e.g., in cleaning machines and golf carts.
The small volume of electrolyte in the battery and that it is low viscosity makes the battery sensitive to dehydration that an overcharge with resulting gas generation could entail.
AGM-batteries
In AGM-batteries the electrolyte is kept in place by the separator paper, consisting of a fiberglass mat (AGM = Absorbed Glass Mat), working as a "sponge". The capillary forces in the separator means that electrolyte ends up in the right place. The batteries can be built with very thin separators, which keeps down the internal resistance. This means that that you can get high power from a small volume, making it perfect as start battery.
The fiberglass mat is quite thin, which makes for a small electrolyte volume in the battery. This makes the battery sensitive to dehydration that an overcharge with resulting gas generation could entail.






The construction of the battery





Battery
1. Handle (on certain battery models)
2. Plugs (not maintenance-free as well as AGM-batteries)
3. Positive and negative posts.
The battery is in a plastic container and has six internal chambers, one for each cell. These chambers are not connected to each other. This means that the electrolyte level can drop in one chamber without affecting the level in the other chambers. The cells are connected in series by a sealed joint between each chamber.
On the top of some "open" batteries, there is a cover with six plugs, one for each cell. The plugs can be opened to check electrolyte level and for topping up with battery water. Maintenance-free batteries as well as AGM-batteries do not have these plugs and therefore cannot be topped up with battery water.
The battery is filled with electrolyte. The electrolyte consists of diluted sulfuric acid (H2SO4) which is a mixture of concentrated sulfuric acid and distilled or deionized water. Electrolyte is often referred to as battery acid. Electrolyte has a density of 1.28 g/cm3 when the battery is fully charged.
A battery is built up of two or more cells connected in series depending on which terminal voltage is desired. An open car battery consists of six cells and the terminal voltage of a fully charged battery is 12.72 V, that is 2.12 V per cell. For AGM-batteries, the max. terminal voltage of a fully charged battery is 12.93 V.
The AGM-batteries' container is provided with a safety valve. The purpose is to protect the battery against too high pressure inside the battery. Too high pressure can occur in case of incorrect charging, e.g., with too high voltage.

Note! The battery is damaged if the safety valve has been activated.

Evacuation hose (not sealed batteries)
Certain batteries (such as genuine Volvo batteries) have an evacuation hose. This applies to car models where the battery is located in the cargo compartment (not in the engine compartment). The function of the evacuation hose is to lead any gases (oxyhydrogens) that build up in the battery during charging away from the cargo compartment out into the open air.

Caution! The evacuation hose must be connected at all times when the battery is connected. Always remember to connect the hose and ensure that the hose is routed downwards to the dedicated outlet in the bodywork when replacing the battery!

The construction of the cells





The construction of the cells
1. Positive plate in separator
2. Negative plate
3. Positive and negative plate assembly
4. Connection
5. Plate assembly for one cell.
A cells consists of several positive and negative plates. These plates are welded together in groups by plate straps. These plates function as electrodes in the cell. Each positive cell is in a type of isolator, known as a separator. The task of the separator is to separate the positive and negative plates and to catch any particles that have detached from the positive plate, thus preventing short-circuits. Each cell contains a combination of such plates connected in series. The separators consist of an acid resistant plastic.
For AGM-batteries, the pocket separator consists of a thin fibre-glass mat (AGM = Absorbed Glass Mat).
Each plate is made up of a grille with an external layer of active material. This active material contributes to the electrochemical process during charging and discharging. The grille is constructed of a type of a lead alloy which functions as a conductor for the active material and also carries the current. The positive plate has an external layer of lead dioxide, while the external layer on the negative plate consists of porous lead.
The cell is surrounded by electrolyte. This is the final component of a complete cell. Each cell can generate 2.12 V (full charge at 25°C (77°F)).
For AGM-batteries, each cell can generate 2.155 V.

Discharge





The process during discharge
1. Negative plate: Pure lead is converted to lead sulphate
2. Electrolyte: The sulfuric acid is converted to water
3. Positive plate: Lead oxide is converted to lead sulphate
4. Power consuming components.
During discharge, the lead in the negative plate is converted to lead sulphate (PbSO4).
The lead dioxide (PbO2) in the positive plate is also converted to lead sulphate. During the discharge process, sulfuric acid (H2SO4) is consumed while water (H2O) is created. This reduces the density of the electrolyte.
The density drops throughout the discharge process and can be gauged to determine the condition of the battery. The electrolyte in a fully charged battery has a density of 1.28 g/cm3. The density of the electrolyte in a fully discharged battery is 1.10 g/cm3.

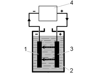
Charging





The process during charging
1. Negative plate: Lead sulphate is converted to pure lead
2. Electrolyte: Water is converted to sulfuric acid
3. Positive plate: Lead sulphate is converted to lead oxide
4. The power supply from the generator or the external battery charger.
During charging, energy is supplied to the battery. This causes an electro-chemical process that is the reverse of the process during discharge. The lead sulphate (PbSO4) in the negative plate is converted back to pure porous lead (Pb) and the lead sulphate (PbSO4) in the positive plate is converted to lead dioxide (PbO2).
Water (H2O) is consumed during the charging process. Sulfuric acid (H2SO4) is formed. The density of the electrolyte increase as the amount of sulfuric acid increases.

Caution! For charging AGM-batteries, use only chargers that are both current and voltage-controlled. AGM-batteries are sensitive to overcharging and must be charged with an adapted charger. This since a battery that is charged with too high voltage/current does not absorb all the energy and the excess is converted to heat. When the battery becomes too warm the electrolyte evaporates (acid). When the pressure in the battery becomes too high, the gas is released through the battery box safety valve. When the water volume decreases the acid concentrates to an unacceptable high level, which may destroy the battery!

AGM-batteries may be charged with a max. voltage/current as follows.





* Max. current is calculated with the following formula (Battery capacity Ah/20)*5. For example, for a battery with capacity 70 Ah: (70/20)*5= 17.5 A.
** Charging time depends on how discharged the battery is, however, max. 24 h.

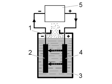
Gas build up





Gas build up
1. Gas build up at the plates
2. Negative plate
3. Electrolyte
4. Positive plate
5. The power supply from the generator or the external battery charger.
Gas builds up at the end of the charging process when charging a lead battery. When the battery has reached 85-90% of the maximum capacity, the water in the electrolyte begins to separate into oxygen (O2) and hydrogen (H2). Oxygen is formed at the positive plate and hydrogen at the negative plate.
Gas build up results in a loss of some of the gas from the battery, because the battery must not be fully sealed. Because the water is lost, the electrolyte level in the battery will drop. New distilled or deionized water must therefore be added to prevent damage to the plates as a result of the electrolyte level being too low. If new water is not added when necessary, the plates may come into contact with the air. This would result in corrosion, reducing the capacity of the battery.
For maintenance-free batteries as well as sealed batteries (AGM), normally no gases are released. This means that the battery water is not consumed in the electrolyte and topping up of battery water is not necessary. Also, the design of the battery box does not permit topping up of battery water.

Warning! If oxygen and hydrogen are mixed in the right proportions, oxyhydrogen is formed. This mixture is extremely explosive. Take great care to avoid personal injuries as well as damage to the battery.

Warning! Make sure that the battery charger is turned off before the terminals are disconnected. This to prevent sparking which may ignite the oxyhydrogen.

Note! Make sure that ventilation is good.