Tools For Diagnostics

Need a step-by-step guide?

Get an AI-powered repair guide with parts lists, cost estimates, and clear instructions for your 2013 Volvo.

AI Repair Guides





Tools for diagnostics

General
Tools used for troubleshooting and diagnostics are divided into two different types, tools for Off Board Diagnostic (diagnostics outside the vehicle) or On Board Diagnostic (diagnostics system in the vehicle) where the control module's diagnosis is used.
There are several tools used for Off Board Diagnostics, a few intended for diagnosis of a control module and its systems are mentioned in this document.

Note! There are control modules with integrated diagnosis, where read-out of diagnosis only is possible with a built-in "tool". This applies to, e.g., climate control module MCC for model S70/V70/C70, where read-out takes place via light-emitting diode on the front of the panel. For, e.g., audio unit HU 1205 for model S40/V40, the audio unit is not connected to the diagnostics socket in the vehicle. All diagnostics as well as other settings are controlled directly by menus in the display.

Tools for Off Board Diagnostics

Troubleshooting instrument ("Carpenter's toolbox")




This troubleshooting instrument ("Carpenter's toolbox") (998-8195) is connected in parallel with the fuel control module and the vehicle's cable harness. Using the control on the box itself, you choose which values that the analogue display is to show.
The box also contains two light-emitting diodes, one green and one red which are turn on/off, e.g., at released or pressed down accelerator (check of throttle switch).
A number of different adapters made it possible to connect to different control modules.

Example of fuel systems where the tool can be used:
- LH-Jetronic, B200/230-engines for model 200/700.
- LE/LU-Jetronic, for model 360.
- Fenix, model 400.
- Motronic, model 740/760 Turbo.

Volvo System Tester - parallel connection




Volvo System Tester - parallel connection was introduced for model year 1986, as a troubleshooting instrument where you connected in parallel between the control module and the cable harness.
Volvo System Tester measured input and output signals in analogue mode and signals were then shown in Volvo System Tester. It was also possible to detect intermittent malfunctions.

With Volvo System Tester connected, it was possible to:
- Reading off values of signals such as coolant temperature, voltage on heated oxygen sensor, etc.
- Monitor certain signals and compare with pre-programmed values as well as register and store deviations.
A number of different adapters made it possible to connect to different control modules.
Thus, at parallel connection, diagnosis is performed of Volvo System Tester.

Tools for On Board Diagnostics

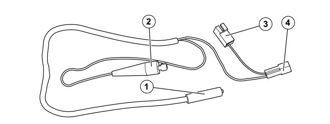
Test diode




The test diode (999-5280) is used to "flash" diagnostic trouble codes. The test diode is connected to a connector (located in engine compartment on certain vehicles) and using this, the control module "flashes" diagnostic trouble codes from certain ignition systems.
The test diode can also for some vehicles be used to check the CO-content from the engine. Then the test diode is connected to another connector than when reading out diagnostic trouble codes.
1. Light-emitting diode
2. Connection to voltage feed.
3. Connection control module for reading out diagnostic trouble codes
4. Connection control module for checking CO-content.

Example of ignition systems where diagnostic trouble codes can be read out:
- Rex, model 240 with engine 230K (4 diagnostic trouble codes).
- EZ 102K, model 760 Turbo-84 engine B23 FT (5 diagnostic trouble codes).
- EZ 115K, model 760/780 engine B280E/F (6 diagnostic trouble codes).

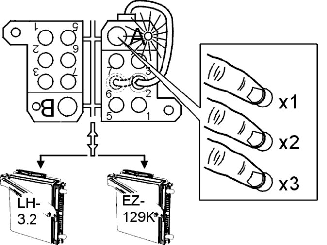
Diagnostic socket with light-emitting diode




A diagnostic socket with light-emitting diode was located in the engine compartment for reading out Volvo Diagnostics from the various systems. It was introduced for model year 1988. Every control module in the vehicle was connected to one of the diagnostic socket's six positions.
As the number of control modules in the vehicles increased and one diagnostics socket was not enough for all control modules, later on two diagnostics sockets were introduced, marked A and B.
For communication with a certain control module, the portable connector is connected to the control module's position in the diagnostics socket. Then the different checking functions are activated by pressing down the diagnosis button a different number of times.
When the button is pressed down, the cable to the control module is grounded, the ground pulse indicates to the control module that communication is initiated and the diode is lit. Then you release the button. Then control module then answers by grounding the cable in different patterns, making the diode turn on and off. Then these "flash codes" must be translated.
Volvo Diagnostics I, the first version is found on, e.g., fuel control system LH 2.4 and ignition system EZ 116K for model 240 and 740.
This diagnostics socket is found in car models 240, 440/460, 740, 940/960 and 850 until model year 1995. For the 400-model, this diagnostics socket is still used after model year 1995.
For further information on the diagnostic socket and its functions, see service information for each system.

Volvo Diagnostic Key




All communication performed using the diagnostics socket with light-emitting diode requires both knowledge about which commands are to be sent as well as how flashes from the control module should be interpreted.
Volvo Diagnostic Key - plain text reading was introduced for model year 1991 to facilitate reading out, interpreting and entering flash codes when communicating.
The tool is connected to the diagnostics socket/sockets with the light-emitting diode and sends, via menu selections, the right commands, then translates the control module's answer (light-emitting diode's flashes) to plain text.

Volvo System Tester




Serial communication
When non-standardized serial communication was introduced in 1991/1992, Volvo System Tester was developed to communicate serially with the control modules. This was so that the new possibilities with serial communication could be used, that is, use the built-in diagnosis in the control module (On Board Diagnostic).
In connection with the introduction of Volvo Diagnostics II, model year 1996, the Volvo System Tester was also developed for this standard.
Plain text reading
Volvo System Tester was also developed to handle the same functionality as Volvo Diagnostic Key, that is, to work as a plain text reader.
Volvo System Tester can be connected to diagnostic socket (OBD II) as well as to diagnostic socket with light-emitting diode via an adapter.
For further information about Volvo System Tester, see service manual Volvo System Tester, Serial communication and plain text reading Section 2 (23).

VADIS - Volvo Aftersales Diagnostic and Information System




At the end of the 1990s, VADIS was introduced as diagnostics tool. Volvo System Tester was first used as communication tool between the vehicle and PC, thereafter Volvo Communication Tool 2000 (VCT2000).
For a time both tools were used, depending on which system and model year you worked with. From 2005, VADIS is replaced by the tool VIDA.

VIDA - Vehicle Information & Diagnostic for Aftersales




During 2005, VADIS was replaced by VIDA as the mandatory tool for diagnostics, among other things. Volvo Communication Tool 2000 (VCT2000) is used as communication tool between the vehicle and PC.




Beginning in 2007, VCT2000 will be replaced by DiCE (Diagnostic Communication Equipment).