Signal Description, Infotainment Control Module (ICM)

Need a step-by-step guide?

Get an AI-powered repair guide with parts lists, cost estimates, and clear instructions for your 2013 Volvo.

AI Repair Guides





Signal description, infotainment control module (ICM)

General
All the values given below are between the respective terminal in column 1 and terminal #A10 in column 1 (power ground) unless otherwise stated in brackets after the table entry.

Note! It is important to connect the breakout box and check the ground connections before starting to measure.





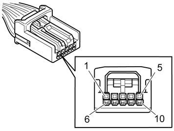
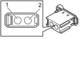
Connector C1










Connector C2










Connector C3 (Blue)










Connector C4 (green)










Connector C5 (brown)










Connector C6










Connector C7 (only for 5 inch screens)