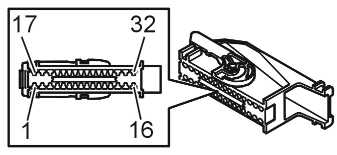
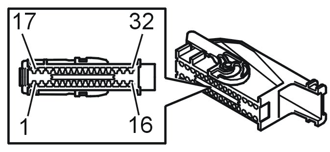
Signal Description, Central Electronic Module (CEM)

Need a step-by-step guide?

Get an AI-powered repair guide with parts lists, cost estimates, and clear instructions for your 2010 Volvo.

AI Repair Guides





Signal specification

General
All the values given below are between the terminals stated in column 1 and terminal #D6 in column 2 (power ground). This applies unless otherwise indicated in the last column.

Note! It is important that the breakout box is connected and that the ground connections have been checked before starting to measure.