Driver Door Module (DDM) and Passenger Door Module (PDM)

Need a step-by-step guide?

Get an AI-powered repair guide with parts lists, cost estimates, and clear instructions for your 2005 Volvo.

AI Repair Guides



Driver Door Module (DDM) and Passenger Door Module (PDM)

System Overview

Control module







The driver door module (DDM) and the passenger door module (PDM) are broadly similar in terms of functionality. The information in this document is common to both the driver door module (DDM) and the passenger door module (PDM) unless otherwise indicated. The main task of both control modules is to manage:
- The power window mechanism
- The door lock
- Door mirror adjustment
- Door mirror folding
- Door mirror heating
- Outside temperature measurement
- Local lighting
- Door open warning lamp.

The control modules are in their respective doors. The driver door module (DDM) is on the driver's side and the passenger door module (PDM) is on the passenger side. The switches for the power windows are mounted directly on top of the control modules. The appearance and physical versions of the two control modules is different.

The driver door module (DDM) and passenger door module (PDM) communicate with directly connected components and with other control modules and components connected via Controller area network (CAN) communication.

Both control modules check activations and input and output signals via an integrated diagnostic system. A diagnostic trouble code (DTC) is stored if either of the control module detects a fault.

Any diagnostic trouble codes (DTCs) are stored in the relevant control module memory. The data can be read off using VIDA.

A simple way to ensure that the control modules are powered and grounded is to activate one of the functions that are operated via the switches on the driver door module (DDM) or passenger door module (PDM). The control module is powered and grounded if any of the functions are working.

Signals










The table summarizes the input signals to and output signals from the driver door module (DDM) and the passenger door module (PDM). The signal types are divided into directly connected signals and Controller area network (CAN) communication. The illustration displays the same information with the Volvo component designations.

Design

The door lock
The passenger door module (PDM) and driver door module (DDM) have diagnostics for the front door locks.

The power window mechanism







The window lift mechanism on the driver's side is operated via the driver door module (DDM). The window lift mechanism on the passenger side is operated either via the passenger door module (PDM) or via the driver door module (DDM).

The window lift mechanisms in both rear doors can be operated via the driver door module (DDM). The window lift mechanisms in the front and rear doors can be operated when the ignition key is in position I or II. The power windows can be operated from when the ignition is switched off until one of the front doors is opened.

The driver door module (DDM) has four spring loaded switches which operate the individual front and rear windows.

The passenger door module (PDM) has a spring loaded switch which operates the window in the front passenger door. The switches in the driver door module (DDM) which control the rear windows can only be activated up or down. The rear windows move up or down for as long as the switch is activated.

The switches for the front windows have five positions which control the position of the window:
0. Normal position where the function is passive.
1. step 1 upwards, raises the window for as long as the button is activated.
2. step 2 upwards, automatically fully closes the window (AUTO-UP).
-1. step 1 downwards, lowers the window for as long as the button is activated.
-2. step 2 downwards, fully opens the window automatically (AUTO-DOWN).

The rear windows are powered via the central electronic module (CEM). However they can be disabled using a child lock switch on the driver door module (DDM). When the child lock is activated, the rear windows cannot be operated from the rear seats. They can still be operated however from the driver door module (DDM).

The front window lift mechanisms have a Hall sensor which measures the rotation speed of each lift mechanism, allowing them to determine the position of the window. If a Hall sensor is not functioning in one of the window lift mechanisms, the AUTO-UP or AUTO-DOWN function for that window is not available. The power window lift mechanism, power window lift motor and Hall sensor form one unit and cannot be replaced separately.

The window lift mechanisms in the front doors have an in-built function to prevent trapping. When AUTO-UP is activated, the window lift mechanism detects whether there is any resistance, i.e. whether too much force is required to close the window. If so, the window stops and then lowers slightly. The anti-trapping system is active during AUTO-UP if the window is open more than 3 mm.

A diagnostic trouble code (DTC) is stored if for any reason the power window mechanism is unable to determine the window position. If this should happen, the power window mechanism must be re-initialized. This is carried out via a diagnostic function in VIDA.

The passenger door module (PDM) and driver door module (DDM) have diagnostics for the window lift mechanisms and Hall sensors in the front doors.

Door mirror







Motors
The motors for the door mirrors are operated via the driver door module (DDM).

The mirrors can be adjusted in the X and Y axes via the two motors for each mirror. Two buttons on the driver door module (DDM), marked L and R, are used to select either the right or left-hand mirror for adjustment. An LED lights in the button that is activated. Only one button can be activated at any one time (left or right). X and Y axis adjustment is made using a control which maneuvers the mirror in the selected direction for as long as the button is pressed (or until the mirror reaches a limit position). To deactivate the adjustment control, press the left or right-hand button again so that the LEDs are off. The mirrors can be adjusted when the ignition key is in position I or II.

Power seats with memories for the door mirrors are optional equipment.
This function requires that the position of the mirrors is saved when the car is locked. Two sensors in each mirror register the mirror position in the X and Y axes. This function has been available as an option since structure week 199950.

The door windows can be equipped as an option with a motor that allows the mirror housing to be folded in. The driver door module (DDM) and passenger door module (PDM) have diagnostics for the motor for folding in the door mirrors. However the activation signal is transmitted by the climate control module (CCM).

The motors and sensors used to set the position of the door mirrors form one unit and cannot be replaced separately.

Heating
The door mirrors contain a heating loop to defrost the glass. The heating loop is on the reverse of the mirror glass. In the event of a fault, the entire mirror glass must be replaced. The heating loops are supplied with power and ground by the driver door module (DDM) and passenger door module (PDM), which also have diagnostics for the loops. However the function is activated by the climate control module (CCM).

Lights in the door mirrors
As an option, the door mirrors can be equipped with lights. The lights are mounted on the underneath of the mirror housing. The driver door module (DDM) and passenger door module (PDM) have diagnostics for the outputs for the lights. However the function is activated by the upper electronic module (UEM) and the remote control.

Outside temperature
In the right-hand mirror there is a temperature sensor which measures the outside temperature. This temperature data is used by the combined instrument panel.

NOTE: This temperature sensor must not be confused with the temperature sensor in the left-hand mirror housing which is used by the engine control module (ECM).

The temperature sensor in the right-hand mirror housing can be replaced separately. The passenger door module (PDM) (or driver door module (DDM) on right-hand drive cars) has diagnostics for the temperature sensor.

Door open warning lamp







There is a door open warning lamp in each front door which lights when the door is opened. The lamps are supplied with power via the driver door module (DDM) and passenger door module (PDM).

Since structure week 199950 door open warning lamps are no longer installed.

The driver door module (DDM) and passenger door module (PDM) have diagnostics for the door open warning lamps.

Function

Central locking

Operating windows







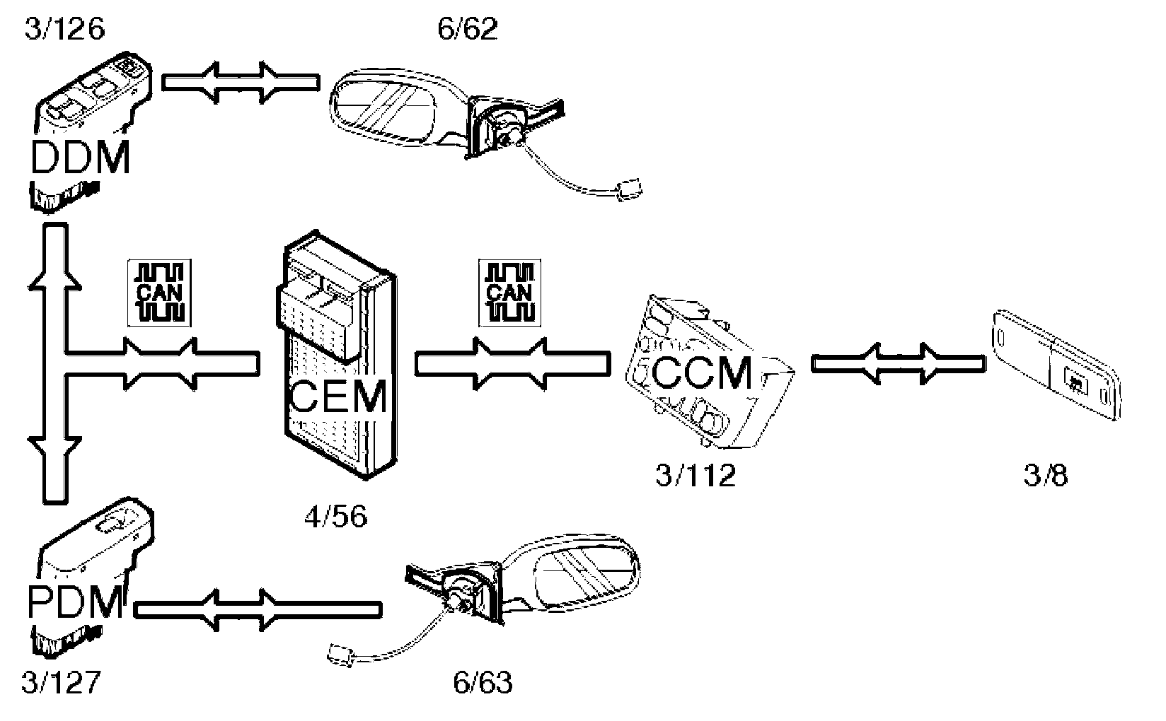
Window control is activated via switches on the driver door module (DDM) (3/126) and passenger door module (PDM) (3/127). The motor for the power window on the driver's side (6/58) is controlled directly from the driver door module (DDM). The motor for the power window on the passenger side (6/60) is controlled via CAN communication from the driver door module (DDM) to the passenger door module (PDM). The signals for operating the rear windows are transmitted from the driver door module (DDM) via the controller area network (CAN) to the central electronic module (CEM) (4/56), which manages the rear window functions.

The passenger door module (PDM) only operates the front window on the passenger side. The signal for operating the front passenger window is transmitted from the passenger door module (PDM) to the window lift mechanism motor on the passenger side (6/60).

If the child lock is activated from the driver door module (DDM), the rear windows cannot be operated from the rear seat. When the child lock switch is activated, a signal is transmitted from the driver door module (DDM) on the controller area network (CAN) to the central electronic module (CEM) which disables rear window operation.

Functions in the door mirrors
The functions in the door mirrors (6/62 left) (6/63 right) which are controlled from the driver door module (DDM) (3/126) or passenger door module (PDM) (3/127) are: mirror position adjustment, folding in the mirrors, mirror heating, local lighting/guide lighting, and temperature measurement.

Adjusting the mirror position







The position of the mirror is controlled using buttons on the driver door module (DDM) (3/126). The driver door module (DDM) transmits a signal directly to the mirror on the driver's side (6/62). When adjusting the mirror on the passenger side (6/63), a signal is transmitted from the driver door module (DDM) to the passenger door module (PDM) (3/127) on the Controller area network (CAN).

If the car has power seats with memory for the door mirrors, the position of the mirrors is stored by two potentiometers. The signal indicating the position in the X and Y axes is received by the driver door module (DDM) and passenger door module (PDM). When one of the buttons on the control unit for the power seat is activated, a signal is transmitted from the power seat module (PSM) (4/52) to the driver door module (DDM) and passenger door module (PDM). This adjusts the door mirrors to the stored position. The stored position can also be set according to which remote control is used to unlock the car.

Folding in the door mirrors







Mirror folding is activated via the switch for folding door mirrors (3/171), which is on the climate control module (CCM) (3/112). A signal is transmitted via the Controller area network (CAN) to the driver door module (DDM) (3/126) and passenger door module (PDM) (3/127). These in turn send the signal on to each door mirror (6/62 and 6/63), which fold each mirror in or out. There is a delay between the button being pressed and the door mirrors folding in or out.

Heating the mirrors







Mirror heating is activated at the same time as the rear windshield defroster. When the switch for rear demist/mirror demist (3/8) is pressed, the climate control module (CCM) (3/112) transmits a signal to the central electronic module (CEM) (4/56). The central electronic module (CEM) activates the rear demist and transmits a signal to the driver door module (DDM) (3/126) and passenger door module (PDM) (3/127) to activate mirror heating. When the driver door module (DDM) and passenger door module (PDM) receive the signal, the outputs for each door mirror are powered (6/62 and 6/63). The function is switch off at the same time as the rear demist. This can happen in three different ways:
- If the switch for rear demist/mirror demist is pressed again after activation the function is switched off, using a signal from the central electronic module (CEM)
- The heating switches off automatically 12 minutes after activation. The driver door module (DDM) and passenger door module (PDM) then receive a signal from the central electronic module (CEM) requesting that the function be deactivated
- The heating is also switched off if the ignition is switched off.

Local lighting/Guide lighting







The local lighting is activated using the remote control for the car. The function can only be activated when the ignition is off. When the yellow button on the remote control is pressed, the upper electronic module (UEM) (4/70) receives an activation signal which is sent onwards on the Controller area network (CAN). The driver door module (DDM) (3/126) and passenger door module (PDM) (3/127) receive the signal and switch on the lighting for the left door mirror (10/148) and the lighting for the right door mirror (10/149). The function is deactivated by pressing the button on the remote control again. A signal is then sent from the upper electronic module (UEM) to the driver door module (DDM) and passenger door module (PDM) requesting that the function is switched off. The function is also switched off when the ignition is switched on.

The guide lighting is activated using the left-hand control stalk (the key must be removed from the ignition switch). The steering wheel module (SWM) (3/130) then transmits a signal via the controller area network (CAN) to the central electronic module (CEM) (4/56). When the car is then locked, the central electronic module (CEM) sends a signal onwards via the controller area network to the driver door module (DDM) (3/126) and passenger door module (PDM) (3/127), which turn on the lights in the door mirrors (10/148 and 10/149). The lights are part of the guide lighting function and remain on for a set time (30, 60 or 90 seconds).

Measuring the outside temperature







The outside temperature is continuously measured (in ignition positions I and II) by the outside temperature sensor (7/11), which is always in the right-hand door mirror. The analog signal is received by the passenger door module (PDM) (driver door module (DDM) for right-hand drive cars). The signal is converted to a digital signal. This signal is then transmitted on the controller area network (CAN) and used by the central electronic module (CEM) (4/56), which sends the signal on to the driver information module (DIM) (5/1).

Door open warning lamp







The door open warning lamp function is on cars from between structure weeks 199820 and 199950. The function utilizes the signal transmitted by the central electronic module (CEM) (4/56) on the controller area network (CAN) when a door is opened. The signal is received by the driver door module (DDM) and passenger door module (PDM). The door open warning lamp is then lit in the left (10/60) and right-hand (10/61) front doors. When the door is closed, the central electronic module (CEM) transmits a new signal on the controller area network (CAN). The signal is received by the driver door module (DDM) and passenger door module (PDM) which turns off the relevant door open warning lamp.

Downloading software and replacing the control module
New software can be downloaded into the driver door module (DDM) and passenger door module (PDM). When ordering software, the hardware and the software in the car is compared to the data in the Volvo central database. If the comparison is OK the software is downloaded to the control module.

If the comparison between the car and Volvo central database is not OK, the database is updated with the car configuration. When this is complete the software is downloaded.

The window positions must be re-initialized after the driver door module (DDM) or passenger door module (PDM) is replaced. This is so that the new control module stores the closed position of the window. Initialization is carried out using VIDA.

If the car has power seats with memory for the door mirrors, this function can be switched off. This means that the personal settings for the door mirrors, based on the remote control used to unlock the door, can be deactivated. Deactivation is carried out using VIDA. This function can be switched off on cars from model year 2003. This setting will be stored in the control module after deactivation, but not in the Volvo Central Database. This means that the deactivation must be repeated when hardware is replaced.