System Specifications

Need a step-by-step guide?

Get an AI-powered repair guide with parts lists, cost estimates, and clear instructions for your 2002 Volvo.

AI Repair Guides





















Classification of Main Bearings





The marking is stamped on the cylinder block and crankshaft.





General Data





Cylinder Block









(1)The bore classification is stamped on top of the engine block.
Example: 1CCDDEE Is read as follows: Cylinder 1=C; Cylinder 2=C; Cylinder 3=D; Cylinder 4=D; Cylinder 5 =E; Cylinder 6=E.

Intermediate Section





Replace M10 screws
Tighten screws in sequence from center and outwards
First pass: M10 20 Nm
Second pass: M10 45 Nm
Third pass: M8 24 Nm
Fourth pass: M7 17 Nm
Final pass: M10 90°

Connecting Rod Fasteners
First pass 20 Nm
Final pass Tighten 90°

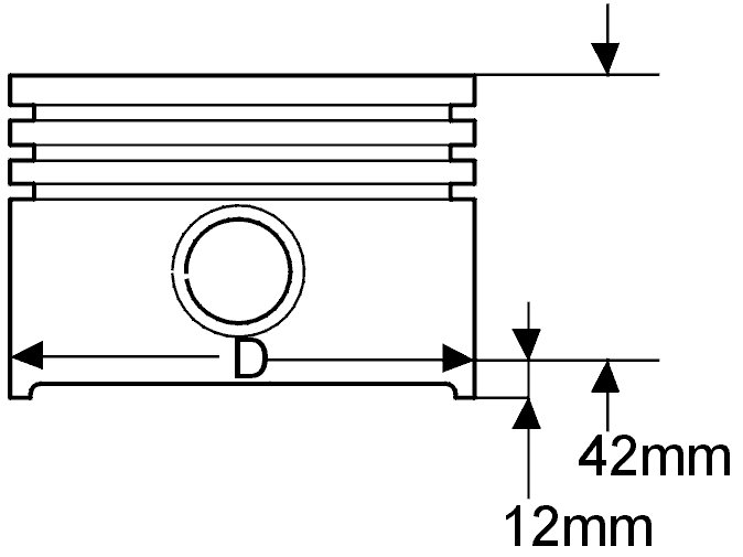
Pistons









(1)The classification is marked on the top of the piston.









Piston Rings





Upper compression ring 0.030-0.070 mm
Lower compression ring 0.030-0.070 mm
Oil control ring assembly 0.038-0.142 mm
Upper 1.200 -0.010/-0.030 mm
Lower 1.500 -0.010/-0.030 mm
Spring 1.510 ± 0.020 mm
Rail 0.460 ± 0.011 mm
B6284T
Diameter 23.000 ± 0.004 mm
Length 61.000 ± 0.200 mm
B6294S
Diameter 21.000 ± 0.004 mm
Length 57.000 ± 0.200 mm

Classification Marking





Each cylinder is stamped with a classification letter (C, D or E) at the rear edge of the cylinder block.

Crankshaft Center Nut 300 Nm (221 ft.lb)

Vibration Damper Screws
Install new screws
First pass 35 Nm (26 ft.lb)
Final pass Tighten 50°