Function

Need a step-by-step guide?

Get an AI-powered repair guide with parts lists, cost estimates, and clear instructions for your 2002 Volvo.

AI Repair Guides





Function

Alarm
See "Design and Function, Alarm".

Central locking
See "Design and Function, Central locking.

Sunroof operation




The sun roof communicates with the upper electronic module (4/70) via serial communication. The sun roof has an internal control module (4/33) which manages this communication.
Data about the sun roof position and data used for diagnostics is sent from the sun roof to the upper electronic module. Data about the position is sent on to other control modules, including the climate control module via the central electronic module (4/56).
The communication between the upper electronic module and the sun roof consists of diagnostic information.

Rain sensor




The rain sensor (7/149) determines that there is water on the windshield. The sensor assesses the volume of water on the windshield and the prevailing exterior light conditions. This data is then sent, via the upper electronic module (4/70), to other control modules in the car on the Control area network (CAN). These control modules in turn ensure that the windshield wipers are set to the correct speed. The rain sensor senses if the windshield is dirty or covered with traffic film and automatically compensates accordingly. The rain sensor also senses heavier splashes on the windshield. The windshield wipers are then operated at top speed.
The rain sensor communicates with the upper electronic module via serial communication. The power supply is from the upper electronic module via the power supply signal EXT.X, when the ignition key is in positions I or II. The rain sensor is active for 10 minutes after the ignition has been switched off.
The steering wheel module (3/130) sends signals via the control area network (CAN) to the central electronic module (4/56) and upper electronic module about the position of the wiper stalk. If the stalk is moved to the intermittent wiping/rain sensor position, the upper electronic module transmits this data to the rain sensor which is then activated.
The rain sensor transmits data via the upper electronic module to the central electronic module, which then controls the wiper motor. The sensitivity can be adjusted using the collar on the wiper stalk.
The upper electronic module transmits a fault message to the central electronic module if there is a fault in the rain sensor. If there is a fault message when the rain sensor is active, the central electronic module selects top speed for the windshield wipers until the windshield wiper stalk is moved from the intermittent/rain sensor position. If the fault recurs, intermittent wiping will be activated when the wiper stalk is next moved to the intermittent/rain sensor position, although at a fixed interval.

Interior roof lighting




The interior roof lighting and reading lamps, front (3/117) and rear (10/150), five lamps in total, are controlled via the upper electronic module (4/70) in that they are supplied with voltage directly from the control module when each switch is activated. The courtesy lighting is also activated when the doors are opened or when local lighting is activated.
Data is sent to the upper electronic module from the central electronic module (4/56) via the Control area network (CAN). This data indicates which doors or tailgate/trunk lid are opened or closed.
The request for keyhole lighting, courtesy lighting and cargo compartment lighting is sent from the upper electronic module to the central electronic module (4/56) and rear electrical module (4/58) via the Control area network (CAN).
Cargo compartment lighting in the V70 and the V70XC (10/25) is also supplied with voltage by the upper electronic module. The lamp is activated when the central electronic module indicates to the upper electronic module that the tailgate is open.
Sun visor lighting (10/114-115) is supplied with voltage by the upper electronic module using the voltage supply signal EXT.X. The lamp is activated when the flap covering the mirror in the sun visor is opened.

Automatic rear view mirror anti-dazzle
The upper electronic module receives data from two photo sensors, one on the front and one on the reverse of the rear view mirror. If the upper electronic module determines that the anti-dazzle function is required, a signal is sent to the electro-chromatic mirror which diffuses to the level required.
The signal transfer occurs internally in the rear view mirror, and is carried out directly between the upper electronic module and the anti-dazzle function.

Caution! The rear view mirror with automatic anti-dazzle can only be installed in the factory. Upgrading to, or removing an anti-dazzle rear view mirror cannot be carried out after market due to software limitations.

Seat belt reminder




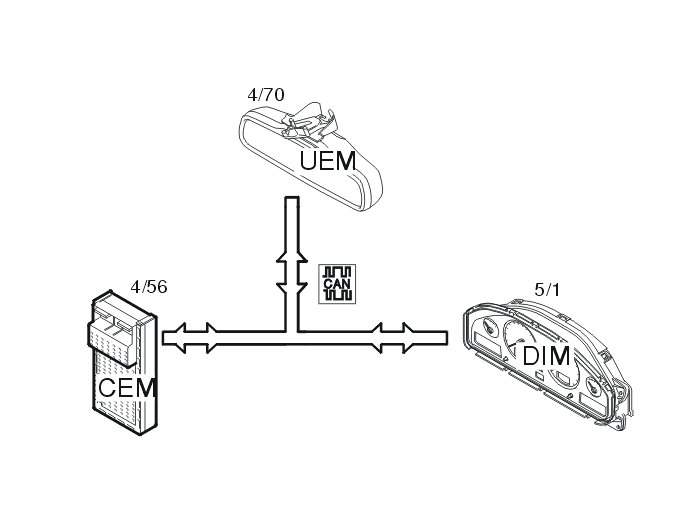
The seat belt reminder is activated when the upper electronic module (4/70) receives a signal from the central electronic module (4/56), via the Control area network (CAN), which indicates that the seat belt is not engaged despite someone sitting in the front seat. Data is also transmitted to the driver information module (5/1) which indicates to the driver that the seat belt is not being used in one of the front seats.