Rear Window Defogger System Does Not Operate

Need a step-by-step guide?

Get an AI-powered repair guide with parts lists, cost estimates, and clear instructions for your 2010 Toyota.

AI Repair Guides




WINDOW / GLASS: WINDOW DEFOGGER SYSTEM: Rear Window Defogger System does not Operate
- Rear Window Defogger System does not Operate

DESCRIPTION

When the rear window defogger switch on the air conditioning control assembly is pressed, the operation signal is transmitted to the air conditioning amplifier assembly through the LIN communication line. When the air conditioning amplifier assembly receives the signal, it turns on the DEF relay to operate the rear window defogger.

WIRING DIAGRAM





INSPECTION PROCEDURE

NOTICE:
Inspect the fuses for circuits related to this system before performing the following inspection procedure.

PROCEDURE

1. CHECK AIR CONDITIONING SYSTEM

(a) Check the air conditioning system.

HINT
Both the window defogger system operation signal and air conditioning system operation signal are transmitted to the air conditioning amplifier assembly through the same LIN communication line.

Result

Result:





C -- GO TO AIR CONDITIONING SYSTEM (for Manual Air Conditioning System) Headlight Signal Circuit

B -- GO TO AIR CONDITIONING SYSTEM (for Automatic Air Conditioning System) How to Proceed with Troubleshooting
A -- Continue to next step.

2. PERFORM ACTIVE TEST USING TECHSTREAM

(a) Connect the Techstream to the DLC3.

(b) Turn the ignition switch to ON.

(c) Turn the Techstream on.

(d) Enter the following menus: Body / Air Conditioner / Active Test.

(e) Perform the Active Test according to the display on the Techstream.

Air Conditioner (Air Conditioning Amplifier Assembly)

Air Conditioner (Air Conditioning Amplifier Assembly):





OK:

The window defogger system operates normally.

NG -- INSPECT DEF RELAY

OK -- REPLACE AIR CONDITIONING CONTROL ASSEMBLY Removal

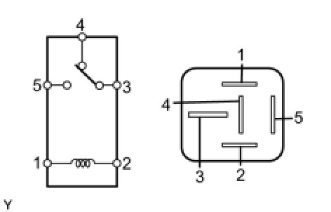
3. INSPECT DEF RELAY

(a) Remove the DEF relay from the engine room relay block.





(b) Measure the resistance according to the value(s) in the table below.

Standard Resistance:





NG -- REPLACE DEF RELAY
OK -- Continue to next step.

4. CHECK HARNESS AND CONNECTOR (DEF RELAY POWER SOURCE)

(a) Measure the voltage according to the value(s) in the table below.





Standard Voltage:





Text in Illustration

Text in Illustration:





NG -- REPAIR OR REPLACE HARNESS OR CONNECTOR
OK -- Continue to next step.

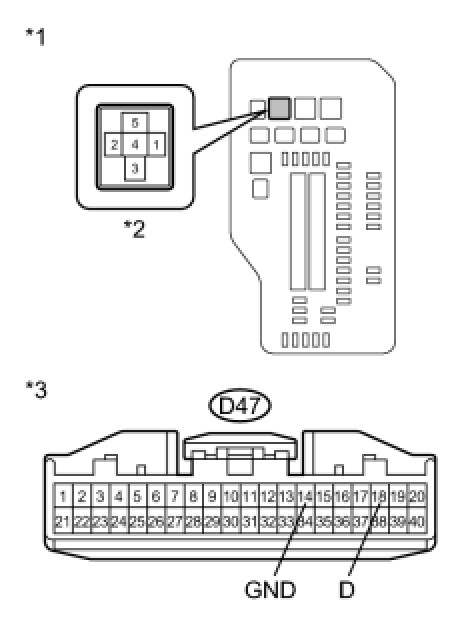
5. CHECK HARNESS AND CONNECTOR (DEF RELAY - AIR CONDITIONING AMPLIFIER ASSEMBLY)

(a) Disconnect the D47 air conditioning amplifier assembly connector.





(b) Measure the resistance according to the value(s) in the table below.

Standard Resistance:





Text in Illustration

Text in Illustration:





NG -- REPAIR OR REPLACE HARNESS OR CONNECTOR
OK -- Continue to next step.

6. INSPECT AIR CONDITIONING AMPLIFIER ASSEMBLY

(a) Install the DEF relay to the engine room relay block.





(b) Reconnect the D47 air conditioning amplifier assembly connector.

(c) Measure the voltage according to the value(s) in the table below.

Standard Voltage:





Text in Illustration

Text in Illustration:





NG -- REPLACE AIR CONDITIONING AMPLIFIER ASSEMBLY Removal
OK -- Continue to next step.

7. CHECK HARNESS AND CONNECTOR (DEF RELAY POWER SOURCE)

(a) Remove the DEF relay from the engine room relay block.





(b) Measure the voltage according to the value(s) in the table below.

Standard Voltage:





Text in Illustration

Text in Illustration:





NG -- REPAIR OR REPLACE HARNESS OR CONNECTOR
OK -- Continue to next step.

8. CHECK HARNESS AND CONNECTOR (DEF RELAY - RADIO SETTING CONDENSER)

(a) Disconnect the R7 radio setting condenser connectors.





(b) Measure the resistance according to the value(s) in the table below.

Standard Resistance:





Text in Illustration

Text in Illustration:





NG -- REPAIR OR REPLACE HARNESS OR CONNECTOR
OK -- Continue to next step.

9. CHECK HARNESS AND CONNECTOR (RADIO SETTING CONDENSER - REAR WINDOW DEFOGGER)

(a) Disconnect the R16 rear window defogger connector.





(b) Measure the resistance according to the value(s) in the table below.

Standard Resistance:





Text in Illustration

Text in Illustration:





NG -- REPAIR OR REPLACE HARNESS OR CONNECTOR
OK -- Continue to next step.

10. INSPECT BACK DOOR GLASS (REAR WINDOW DEFOGGER WIRE)

(a) Disconnect the R15 rear window defogger connector.





(b) Measure the resistance according to the value(s) in the table below.

Standard Resistance:





Text in Illustration

Text in Illustration:





NG -- REPLACE BACK DOOR GLASS (REAR WINDOW DEFOGGER WIRE) Removal
OK -- Continue to next step.

11. CHECK HARNESS AND CONNECTOR (REAR WINDOW DEFOGGER - BODY GROUND)

(a) Measure the resistance according to the value(s) in the table below.





Standard Resistance:





Text in Illustration

Text in Illustration:





NG -- REPAIR OR REPLACE HARNESS OR CONNECTOR
OK -- Continue to next step.

12. REPLACE RADIO SETTING CONDENSER

(a) Replace the radio setting condenser.

NEXT -- Continue to next step.

13. CHECK REAR WINDOW DEFOGGER SYSTEM

(a) Turn the ignition switch to ON, press the rear window defogger switch, and check that the window defogger operates Window Defogger System.

Result:





B -- REPLACE AIR CONDITIONING AMPLIFIER ASSEMBLY Removal

A -- END