Procedures

Need a step-by-step guide?

Get an AI-powered repair guide with parts lists, cost estimates, and clear instructions for your 2010 Toyota.

AI Repair Guides




U660F AUTOMATIC TRANSMISSION / TRANSAXLE: AUTOMATIC TRANSAXLE FLUID: ADJUSTMENT

1. PRECAUTIONS AND WORK DESCRIPTION

(a) The U660F automatic transaxle does not have an oil filler tube and oil level gauge. When adding fluid, add fluid through the refill hole on the transaxle case. The fluid level can be adjusted by draining excess fluid (allowing excess fluid to overflow) through the No. 1 transmission oil filler tube of the oil pan.

HINT
"Overflow" indicates the condition under which fluid comes out of the overflow plug hole.

(b) Before adjusting the fluid level, add the specified amount of fluid when the engine is cold and warm up the engine to circulate the fluid in the transaxle. Ensure that the fluid temperature is as specified and the engine is idling.





(c) The U660F automatic transaxle requires Toyota Genuine ATF WS.

(d) The adjustment should be performed according to the procedures and notes.

2. WORK FLOW

(a) The adjustment should be performed according to the procedures referenced in the work flow below.





3. BEFORE FILLING TRANSAXLE WITH FLUID

(a) Lift the vehicle.

NOTICE:
Set the vehicle on a lift so that the vehicle is kept level when it is lifted up.

(b) Remove the No. 2 engine under cover and front fender apron LH.

4. PERFORM INITIAL FILLING

NOTICE:
If the transaxle is hot (ATF temperature is high), wait until the fluid temperature becomes the same as the ambient temperature before starting the following procedure. (Recommended ATF temperature: around 20°C [68°F])

(a) Remove the refill plug and gasket from the automatic transaxle.





NOTICE:
After performing any of the following operations, it is not necessary to perform the initial filling procedure. Proceed to the Add Specified Amount of Fluid procedure.





(b) Using a 6 mm socket hexagon wrench, remove the overflow plug and gasket from the automatic transaxle.





NOTICE:
* If ATF comes out after removing the overflow plug, wait until the fluid flow slows and only drips come out.
* If ATF comes out, it is not necessary to perform the initial filling procedure. After checking the tightening torque of the No. 1 transmission oil filler tube, temporarily tighten the overflow plug.
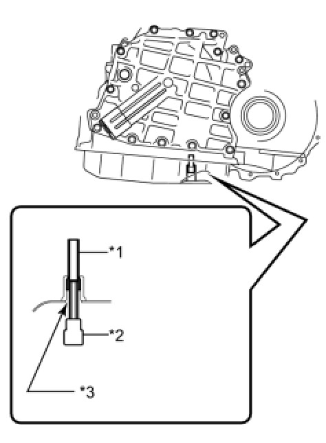
(c) Using a 6 mm socket hexagon wrench, check that the No. 1 transmission oil filler tube is tightened to the specified torque.





Text in Illustration:





Torque : 1.7 Nm (17 kgf-cm, 15 in-lbf)

NOTICE:
If the No. 1 transmission oil filler tube is not tightened to the specified torque, the amount of fluid cannot be precisely adjusted.

HINT
To check the torque of the No. 1 transmission oil filler tube, insert the socket hexagon wrench into the overflow plug hole.

(d) Perform initial filling.

(1) Fill the transaxle through the refill hole until fluid begins to trickle out of the overflow plug hole.





NOTICE:
Use Toyota Genuine ATF WS.

(e) Wait until the fluid flow slows and only drips come out.





(f) Temporarily install the overflow plug.





HINT
Reuse the old gasket. The plug will be removed again to adjust the fluid level.

5. ADD SPECIFIED AMOUNT OF FLUID

(a) Fill the transaxle with the correct amount of fluid as listed in the table below.

NOTICE:
Refill amount differs depending on the operation that was performed.

Standard Capacity:





(b) Temporarily install the refill plug to avoid fluid spillage.





HINT
Reuse the old gasket. The plug will be removed again to adjust the fluid level.

(c) Lower the vehicle.

6. ADJUST FLUID TEMPERATURE

(a) When using the Techstream:

HINT
The actual ATF temperature can be checked on the Data List using the Techstream.

(1) Connect the Techstream to the DLC3 with the ignition switch off.

(2) Turn the ignition switch to ON and turn the Techstream switch on.

NOTICE:
Check that electrical systems such as the air conditioning system, audio system and lighting system are off.

(3) Enter the following menus: Powertrain / ECT / Active Test / Connect the TC and TE1.

(4) Select the Active Test menu: Connect the TC and TE1 / ON.

(5) Select the Data List menu: A/T Oil Temperature 1.

(6) Check the ATF temperature.

NOTICE:
* If the fluid temperature is below 45°C (113°F), proceed to the next step. (Recommended ATF temperature: 40°C [104°F] or less)
* If the fluid temperature is 45°C (113°F) or more, turn the ignition switch off and wait until the fluid temperature drops below 45°C (113°F).
(7) Depress and hold the brake pedal.

(8) Start the engine.

(9) Slowly move the shift lever from P to D, then back to P.

HINT
Slowly move the shift lever to circulate the fluid through each part of the transaxle.

(10) While observing the D shift indicator on the combination meter, move the shift lever back and forth between N and D at an interval of 1.5 seconds for 6 seconds or more.





NOTICE:
Do not pause for more than 1.5 seconds.

HINT
Performing this operation will cause the vehicle to enter the fluid temperature detection mode.

(11) Check that the D shift indicator comes on for 2 seconds.

HINT
* When the fluid temperature detection mode is activated, the D shift indicator on the combination meter comes on for 2 seconds.
* If the D shift indicator does not come on for 2 seconds, return to the step where terminal TC is first connected and perform the procedure again.
(12) Move the shift lever from N to P.

(13) Release the brake pedal.

(14) Select the Active Test menu: Connect the TC and TE1 / OFF.

NOTICE:
Be sure that terminals TC and TE1 are not connected. If the terminals are connected, the fluid level cannot be precisely adjusted due to fluctuations in engine speed.

HINT
* Disconnecting terminals TC and TE1 activates the engine idle speed control mode.
* In the engine idle speed control mode, engine idle speed control starts when the fluid temperature becomes 35°C (95°F) or more and the engine speed is maintained at approximately 800 rpm.
* Even after terminals TC and TE1 are disconnected, the fluid temperature detection mode is active until the ignition switch is turned off.
(15) Warm up the engine with the engine idling until the fluid temperature reaches the normal operating temperature (40 to 45°C [104 to 113°F]).





NOTICE:
* If the fluid temperature is within the normal operating temperature range, immediately proceed to the Adjust Fluid Level procedure.
* If the fluid temperature is 45°C (113°F) or more, stop the engine and wait until the fluid temperature drops to 40°C (104°F) or less. Then perform the Adjust Fluid Temperature procedure again from the beginning.
HINT
In the fluid temperature detection mode, the D shift indicator comes on, goes off, or blinks depending on the fluid temperature.





D Shift Indicator:





(b) When not using the Techstream:

(1) Using SST, connect terminals 13 (TC) and 4 (CG) of the DLC3 with the ignition switch off.





Text in Illustration:





SST : 09843-18040

(2) Depress and hold the brake pedal.

(3) Start the engine.

NOTICE:
Check that electrical systems such as the air conditioning system, audio system and lighting system are off.

HINT
The indicator lights on the combination meter blink to indicate the DTC output when terminals TC and CG are shorted.

(4) Slowly move the shift lever from P to D, then back to P.

HINT
Slowly move the shift lever to circulate the fluid through each part of the transaxle.

(5) While observing the D shift indicator on the combination meter, move the shift lever back and forth between N and D at an interval of 1.5 seconds for 6 seconds or more.





NOTICE:
Do not pause for more than 1.5 seconds.

HINT
Performing this operation will cause the vehicle to enter the fluid temperature detection mode.

(6) Check that the D shift indicator comes on for 2 seconds.

HINT
* When the fluid temperature detection mode is activated, the D shift indicator on the combination meter comes on for 2 seconds.
* If the D shift indicator does not come on for 2 seconds, return to the step where terminal TC is first connected and perform the procedure again.
(7) Move the shift lever from N to P.

(8) Release the brake pedal.

(9) Remove SST from terminals 13 (TC) and 4 (CG).





Text in Illustration:





SST : 09843-18040

NOTICE:
Be sure that terminals TC and CG are not connected. If the terminals are connected, the fluid level cannot be precisely adjusted due to fluctuations in engine speed.

HINT
* Disconnecting terminals TC and CG activates the engine idle control mode.
* In the engine idle speed control mode, engine idle speed control starts when the fluid temperature becomes 35°C (95°F) or more and the engine speed is maintained at approximately 800 rpm.
* Even after terminals TC and CG are disconnected, the fluid temperature detection mode is active until the ignition switch is turned off.
(10) Allow the engine to idle until the D shift indicator comes on again.





D Shift Indicator:





NOTICE:
* If the D shift indicator is on, immediately proceed to the Adjust Fluid Level procedure.
* If the D shift indicator blinks, stop the engine and wait until the fluid temperature drops to 40°C (104°F) or less (the indicator goes off). Then perform the Adjust Fluid Temperature procedure again from the beginning.
HINT
* In the fluid temperature detection mode, the D shift indicator comes on, goes off, or blinks depending on the fluid temperature.
* Fluid filling procedure should be performed when the D shift indicator is on (the fluid temperature is within the normal operating temperature range).
7. ADJUST FLUID LEVEL

CAUTION:
Use caution while the engine is idling and the radiator fan is operating.

(a) Lift the vehicle.

NOTICE:
Set the vehicle on a lift so that the vehicle is kept level when it is lifted up.

(b) Adjust the fluid level.

(1) Using a 6 mm socket hexagon wrench, remove the overflow plug and gasket.





CAUTION:
Be careful as the fluid coming out of the overflow plug hole is hot.

(2) Check the amount of fluid that comes out of the overflow plug hole.

NOTICE:
If only a small amount of fluid (approximately 1 cc) comes out of the overflow plug hole, then only fluid remaining in the No. 1 transmission oil filler tube has come out. This condition is not considered as overflow, so it is necessary to add fluid.

(3) If the amount of fluid that comes out of the overflow plug hole is large, wait until the fluid flow slows and only drips come out.





(4) If no fluid comes out of the overflow plug hole, remove the refill plug and gasket. Then add transaxle fluid through the refill hole until fluid comes out of the overflow plug hole. Wait until the fluid flow slows and only drips come out.





NOTICE:
Use Toyota Genuine ATF WS.

(5) Check that the fluid flow has slowed and only drips come out.





HINT
The fluid flow will not completely stop because the fluid expands as its temperature increases.

(c) Install the overflow plug with a new gasket.





Torque : 40 Nm (408 kgf-cm, 30 ft-lbf)

(d) Install the refill plug with a new gasket.





Torque : 49 Nm (500 kgf-cm, 36 ft-lbf)

(e) Lower the vehicle.

(f) Turn the ignition switch off.

HINT
Turning the ignition switch off exits the fluid temperature detection mode.

(g) Remove the Techstream from the DLC3 (when using the Techstream).

8. AFTER FILLING TRANSMISSION

(a) Lift the vehicle.

(b) Clean each part.

(c) Check for fluid leaks.

(d) Install the front fender apron LH and No. 2 engine under cover.

(e) Lower the vehicle.