Part 2

Need a step-by-step guide?

Get an AI-powered repair guide with parts lists, cost estimates, and clear instructions for your 2010 Toyota.

AI Repair Guides




U660F AUTOMATIC TRANSMISSION / TRANSAXLE: AUTOMATIC TRANSAXLE UNIT: DISASSEMBLY

34. INSPECT PLANETARY SUN GEAR SUB-ASSEMBLY Transaxle Unit

35. REMOVE INPUT SHAFT SUB-ASSEMBLY

(a) Remove the input shaft sub-assembly from the oil pump assembly.





(b) Remove the thrust needle roller bearing and thrust needle roller race from the input shaft.





Text in Illustration:





(c) Using a screwdriver, remove the 3 input shaft oil seal rings from the input shaft.

Text in Illustration:





36. REMOVE UNDERDRIVE PLANETARY SUN GEAR

(a) Remove the underdrive planetary sun gear from the oil pump assembly.





Text in Illustration:





(b) Remove the thrust needle roller bearing from the oil pump assembly.

Text in Illustration:





37. REMOVE NO. 1 BRAKE DISC

(a) Using a screwdriver, remove the 2 snap rings and brake snap ring stopper from the oil pump assembly.





Text in Illustration:





(b) Remove the brake flange, 4 brake discs and 4 brake plates from the oil pump assembly.





Text in Illustration:





38. INSPECT NO. 1 BRAKE DISC Transaxle Unit

39. REMOVE 2ND BRAKE PISTON RETURN SPRING SUB-ASSEMBLY

(a) Remove the 3 2nd brake piston return springs from the oil pump assembly.





40. INSPECT 2ND BRAKE PISTON RETURN SPRING SUB-ASSEMBLY Transaxle Unit

41. REMOVE NO. 1 BRAKE PISTON

(a) Holding the oil pump assembly by hand, apply compressed air (392 kPa, 4.0 kgf/cm2, 57 psi) to the oil pump assembly to remove the No. 1 brake piston.





(b) Using a screwdriver, remove the 2 O-rings from the No. 1 brake piston.





Text in Illustration:





42. REMOVE FRONT DIFFERENTIAL CASE

(a) Remove the front differential case from the transaxle case.





43. REMOVE COUNTER DRIVE GEAR NUT

(a) Using SST and a hammer, unstake the counter drive gear nut.





SST : 09930-00010

(b) Turn the manual valve lever 2 notches counterclockwise to set it to the P position as shown in the illustration.





(c) Using SST, remove the counter drive gear nut from the planetary gear assembly.





SST : 09387-00130

44. REMOVE COUNTER DRIVEN GEAR

(a) Turn the manual valve lever 2 notches clockwise to set it to the N position as shown in the illustration.





(b) Remove the counter driven gear from the transaxle case.





45. REMOVE COUNTER DRIVEN GEAR FRONT TAPERED ROLLER BEARING

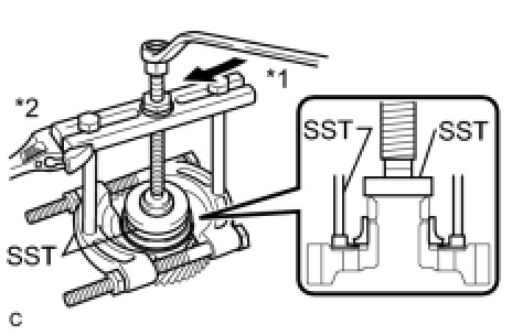
(a) Using SST, remove the counter driven gear front tapered roller bearing from the counter driven gear.





Text in Illustration:





SST : 09950-00020

SST : 09950-00030

SST : 09950-60010

09951-00400

46. REMOVE COUNTER DRIVEN GEAR REAR TAPERED ROLLER BEARING

(a) Using SST, remove the counter driven gear rear tapered roller bearing and differential drive pinion from the counter driven gear.





Text in Illustration:





SST : 09950-40011

09951-04010

09952-04010

09953-04020

09954-04010

09955-04071

09957-04010

09958-04011

SST : 09950-60010

09951-00320

47. REMOVE PAWL SHAFT CLAMP

(a) Remove the bolt and pawl shaft clamp from the transaxle case.





48. REMOVE PAWL STOPPER PLATE

(a) Remove the 2 bolts and pawl stopper plate from the transaxle case.





49. REMOVE PARKING LOCK SLEEVE

(a) Remove the parking lock sleeve from the transaxle case.





50. REMOVE PARKING LOCK PAWL

(a) Remove the spring, parking lock pawl pin, parking lock pawl shaft and parking lock pawl from the transaxle case.





Text in Illustration:





51. REMOVE COUNTER DRIVEN GEAR REAR TAPERED ROLLER BEARING OUTER RACE

(a) Using SST, remove the counter driven gear rear tapered roller bearing outer race from the transaxle case.





SST : 09308-00010

52. REMOVE ONE-WAY CLUTCH ASSEMBLY

(a) Using a screwdriver, remove the snap ring from the transaxle case.





(b) Remove the one-way clutch assembly with the planetary ring gear from the transaxle case.





Text in Illustration:





(c) Remove the thrust needle roller bearing from the planetary gear assembly.

Text in Illustration:





53. INSPECT ONE-WAY CLUTCH ASSEMBLY Transaxle Unit

54. REMOVE PLANETARY RING GEAR

(a) Remove the planetary ring gear from the one-way clutch assembly.





Text in Illustration:





55. REMOVE PLANETARY RING GEAR FLANGE

(a) Using a screwdriver, remove the snap ring from the planetary ring gear.





Text in Illustration:





(b) Remove the planetary ring gear flange from the planetary ring gear.

Text in Illustration:





56. REMOVE NO. 2 BRAKE DISC

(a) Using a screwdriver, remove the snap ring from the transaxle case.





(b) Remove the brake flange, 5 brake discs and 5 brake plates from the transaxle case.





Text in Illustration:





57. INSPECT NO. 2 BRAKE DISC Transaxle Unit

58. REMOVE 1ST AND REVERSE BRAKE RETURN SPRING SUB-ASSEMBLY

(a) Using a screwdriver, remove the snap ring from the transaxle case.





(b) Remove the 1st and reverse brake return spring from the transaxle case.





59. INSPECT 1ST AND REVERSE BRAKE RETURN SPRING SUB-ASSEMBLY Transaxle Unit

60. REMOVE NO. 2 BRAKE PISTON

(a) Apply compressed air (392 kPa, 4.0 kgf/cm2, 57 psi) to the ATF hole to remove the No. 2 brake piston from the transaxle case.





(b) Using a screwdriver, remove the 2 O-rings from the No. 2 brake piston.





Text in Illustration:





61. REMOVE FRONT PLANETARY GEAR ASSEMBLY

(a) Using SST and a press, remove the planetary gear assembly from the transaxle case.





SST : 09950-60010

09951-00580

SST : 09950-70010

09951-07100

62. REMOVE COUNTER DRIVE GEAR

NOTICE:
Perform this procedure only when the counter drive gear bearing or transaxle case is replaced.

(a) Using SST and a press, remove the counter drive gear and bearing inner race (rear side) from the transaxle case.





SST : 09950-60020

09951-00710

SST : 09950-70010

09951-07100

(b) As shown in the illustration, tighten the 3 bolts evenly and leave a clearance of approximately 20.0 mm (0.787 in.) between the counter drive gear and inner race (front side).





(c) Using SST, remove the bearing inner race (front side) from the counter drive gear.





Text in Illustration:





SST : 09950-00020

SST : 09950-00030

SST : 09950-60020

09951-00710

63. REMOVE NO. 3 BRAKE PISTON

(a) Using a screwdriver, remove the snap ring from the transaxle case.





(b) Remove the brake piston return spring from the transaxle case.





Text in Illustration:





(c) Remove the No. 3 brake piston from the transaxle case.

Text in Illustration:





64. REMOVE MANUAL DETENT SPRING SUB-ASSEMBLY

(a) Remove the bolt, cover and manual detent spring sub-assembly from the transaxle case.





65. REMOVE PARKING LOCK ROD SUB-ASSEMBLY

(a) Remove the parking lock rod sub-assembly from the parking lock lever sub-assembly.





HINT
Align the slot with the notches on the parking lock lever sub-assembly to remove the parking lock rod sub-assembly.

66. REMOVE MANUAL VALVE LEVER SHAFT

(a) Using needle-nose pliers, remove the manual valve lever shaft retainer spring from the transaxle case.





(b) Using a screwdriver, slide the spacer of the manual valve lever sub-assembly.





(c) Using a pin punch (3 mm) and hammer, drive out the slotted spring pin from the manual valve lever sub-assembly.





HINT
To prevent the pin from falling into the case, drive the pin until it has cleared the manual valve lever shaft.

(d) Using a screwdriver, slide the spacer of the parking lock lever sub-assembly.





(e) Using a pin punch (3 mm) and hammer, drive out the slotted spring pin from the parking lock lever sub-assembly.





HINT
To prevent the pin from falling into the case, drive the pin until it has cleared the manual valve lever shaft.

(f) Remove the manual valve lever shaft, manual valve lever sub-assembly, parking lock lever sub-assembly and 2 spacers from the transaxle case.





67. REMOVE MANUAL VALVE LEVER SHAFT OIL SEAL

(a) Using a screwdriver, remove the manual valve lever shaft oil seal from the transaxle case.