Fuel Injector Circuit

Need a step-by-step guide?

Get an AI-powered repair guide with parts lists, cost estimates, and clear instructions for your 2010 Toyota.

AI Repair Guides




2GR-FE ENGINE CONTROL: SFI SYSTEM: Fuel Injector Circuit
- Fuel Injector Circuit

DESCRIPTION

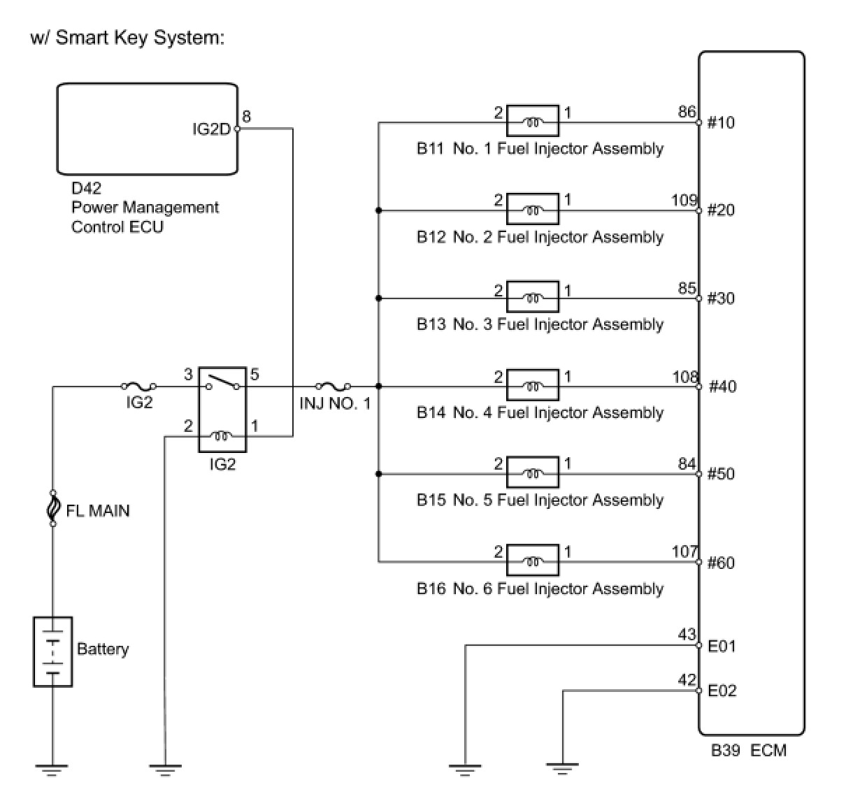
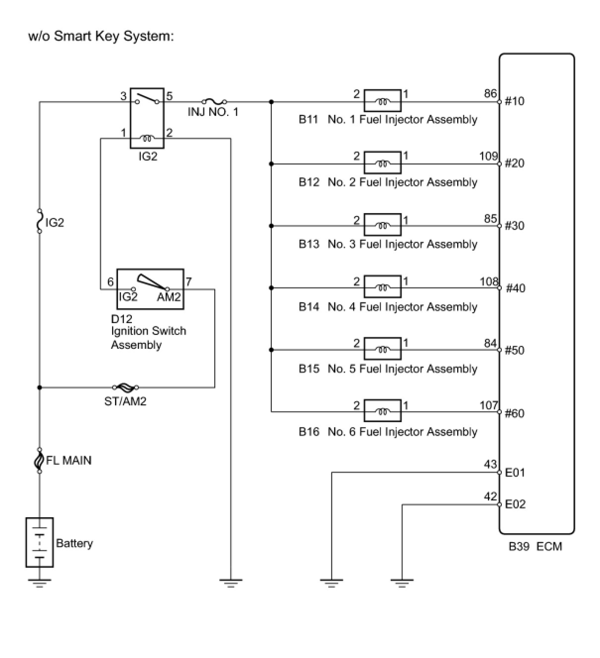
The fuel injector assemblies are located on the intake manifold. They inject fuel into the cylinders based on signals from the ECM.

WIRING DIAGRAM









INSPECTION PROCEDURE

NOTICE:
Inspect the fuses for circuits related to this system before performing the following inspection procedure.

PROCEDURE

1. CHECK FUEL INJECTOR ASSEMBLY (POWER SOURCE)

(a) Disconnect the fuel injector assembly connector.





(b) Turn the ignition switch to ON.

(c) Measure the voltage according to the value(s) in the table below.

Standard Voltage:





Text in Illustration

Text in Illustration:





(d) Reconnect the fuel injector assembly connector.

NG -- CHECK HARNESS AND CONNECTOR (IG2 RELAY - FUEL INJECTOR ASSEMBLY)
OK -- Continue to next step.

2. INSPECT FUEL INJECTOR ASSEMBLY

(a) Inspect the fuel injector assembly Testing and Inspection.

NG -- REPLACE FUEL INJECTOR ASSEMBLY Removal
OK -- Continue to next step.

3. CHECK HARNESS AND CONNECTOR (FUEL INJECTOR ASSEMBLY - ECM)

(a) Disconnect the fuel injector assembly connector.

(b) Disconnect the ECM connector.

(c) Measure the resistance according to the value(s) in the table below.

Standard Resistance (Check for Open):





Standard Resistance (Check for Short):





(d) Reconnect the ECM connector.

(e) Reconnect the fuel injector assembly connector.

NG -- REPAIR OR REPLACE HARNESS OR CONNECTOR (FUEL INJECTOR ASSEMBLY - ECM)

OK -- PROCEED TO NEXT SUSPECTED AREA SHOWN IN PROBLEM SYMPTOMS TABLE Symptom Related Diagnostic Procedures

4. CHECK HARNESS AND CONNECTOR (IG2 RELAY - FUEL INJECTOR ASSEMBLY)

(a) Disconnect the fuel injector assembly connector.

(b) Remove the IG2 relay from the engine room relay block.

(c) Measure the resistance according to the value(s) in the table below.

Standard Resistance (Check for Open):





Standard Resistance (Check for Short):





(d) Reinstall the IG2 relay.

(e) Reconnect the fuel injector assembly connector.

NG -- REPAIR OR REPLACE HARNESS OR CONNECTOR (IG2 RELAY - FUEL INJECTOR ASSEMBLY)

OK -- CHECK ECM POWER SOURCE CIRCUIT