Part 2

Need a step-by-step guide?

Get an AI-powered repair guide with parts lists, cost estimates, and clear instructions for your 2010 Toyota.

AI Repair Guides




2GR-FE ENGINE CONTROL: SFI SYSTEM: EVAP System
- EVAP System (Continued)

12. PERFORM ACTIVE TEST USING TECHSTREAM (PURGE VSV)





(a) Enter the following menus: Powertrain / Engine / Active Test / Activate the VSV for EVAP Control.

(b) Disconnect the hose (connected to the canister) from the purge VSV.

Text in Illustration:





(c) Start the engine.

(d) Using the Techstream, turn off the purge VSV (Activate the VSV for Evap Control: OFF).

(e) Use your finger to confirm that the purge VSV has no suction.

(f) Using the Techstream, turn on the purge VSV (Activate the VSV for Evap Control: ON).

(g) Use your finger to confirm that the purge VSV has suction.

Result:





(h) Reconnect the hose.

C -- CHECK EVAP HOSE (PURGE VSV - INTAKE AIR SURGE TANK ASSEMBLY)

B -- INSPECT PURGE VSV
A -- Continue to next step.

13. CHECK FUEL CAP

(a) Check that the fuel cap is correctly installed and confirm that the fuel cap meets OEM specifications.

(b) Tighten the fuel cap until a few click sounds are heard.

HINT
If an EVAP tester is available, check the fuel cap using the Techstream.

* Remove the fuel cap and install it onto a fuel cap adapter.
* Connect an EVAP tester pump hose to the adapter, and pressurize the cap to 3.2 to 3.7 kPa (24 to 28 mmHg) using an EVAP tester pump.
* Seal the adapter and wait for 2 minutes.
* Check the pressure. If the pressure is 2 kPa (15 mmHg) or more, the fuel cap is normal.

Result:





(c) Reinstall the fuel cap.

C -- REPLACE FUEL CAP

B -- CORRECTLY REINSTALL OR REPLACE FUEL CAP

A -- LOCATE EVAP LEAK PART

14. INSPECT PURGE VSV





(a) Turn the ignition switch off.

(b) Disconnect the purge VSV connector.

Text in Illustration:





(c) Disconnect the hose (connected to the canister) from the purge VSV.

(d) Start the engine.

(e) Use your finger to confirm that the purge VSV has no suction.

Result:





(f) Reconnect the purge VSV connector.

(g) Reconnect the hose.

B -- REPLACE PURGE VSV

A -- REPLACE ECM

15. CHECK EVAP HOSE (PURGE VSV - INTAKE AIR SURGE TANK ASSEMBLY)





(a) Disconnect the hose (connected to the intake air surge tank assembly) from the purge VSV.

Text in Illustration:





(b) Start the engine.

(c) Use your finger to confirm that the hose has suction.

Result:





(d) Reconnect the hose.

B -- INSPECT INTAKE AIR SURGE TANK ASSEMBLY (EVAP PURGE PORT)
A -- Continue to next step.

16. INSPECT PURGE VSV





(a) Remove the purge VSV.

(b) Apply battery voltage to the terminals of the purge VSV.

Text in Illustration:





(c) Using an air gun, confirm that air flows from port A to port B.

Result:





(d) Install the purge VSV.

B -- REPLACE PURGE VSV
A -- Continue to next step.

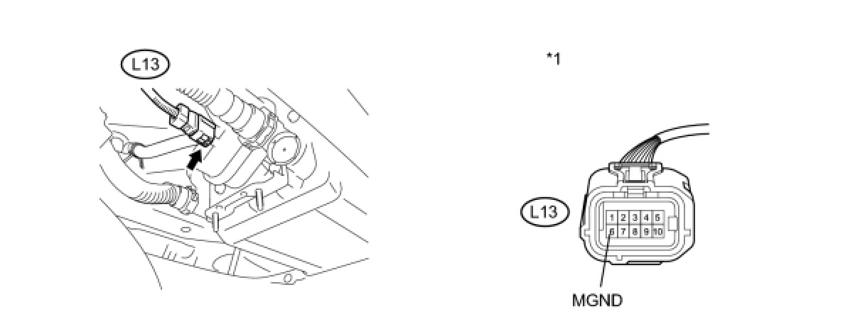
17. CHECK WIRE HARNESS (POWER SOURCE OF PURGE VSV)





(a) Disconnect the purge VSV connector.

(b) Turn the ignition switch to ON.

(c) Measure the voltage according to the value(s) in the table below.

Text in Illustration:





Result:





(d) Reconnect the purge VSV connector.

B -- REPAIR OR REPLACE HARNESS OR CONNECTOR
A -- Continue to next step.

18. CHECK WIRE HARNESS (PURGE VSV - ECM)

(a) Disconnect the ECM connector.

(b) Disconnect the purge VSV connector.

(c) Measure the resistance according to the value(s) in the table below.

Standard Resistance (Check for Open):





Standard Resistance (Check for Short):





(d) Reconnect the purge VSV connector.

(e) Reconnect the ECM connector.

NG -- REPAIR OR REPLACE HARNESS OR CONNECTOR

OK -- REPLACE ECM

19. INSPECT CANISTER PUMP MODULE (POWER SOURCE FOR VENT VALVE)

(a) Disconnect the canister pump module connector.





(b) Turn the ignition switch to ON.

(c) Measure the voltage according to the value(s) in the table below.

Result:





Text in Illustration:





(d) Reconnect the canister pump module connector.

B -- REPAIR OR REPLACE HARNESS OR CONNECTOR
A -- Continue to next step.

20. INSPECT CANISTER PUMP MODULE (VENT VALVE OPERATION)





(a) Disconnect the canister pump module connector.

(b) Apply battery voltage to VLVB and VGND terminals of the canister pump module.

(c) Touch the canister pump module to confirm the vent valve operation.

Text in Illustration:





Result:





(d) Reconnect the canister pump module connector.

B -- REPLACE CANISTER
A -- Continue to next step.

21. CHECK WIRE HARNESS (ECM - CANISTER PUMP MODULE)

(a) Disconnect the ECM connector.

(b) Disconnect the canister pump module connector.

(c) Measure the resistance according to the value(s) in the table below.

Result:





(d) Reconnect the ECM connector.

(e) Reconnect the canister pump module connector.

B -- REPAIR OR REPLACE HARNESS OR CONNECTOR

A -- REPLACE ECM

22. PERFORM ACTIVE TEST USING TECHSTREAM (ACTIVE THE VACUUM PUMP)

(a) Turn the ignition switch off.





(b) Disconnect the canister pump module connector.

(c) Turn the ignition switch to ON.

(d) Enter the following menus: Powertrain / Engine / Active Test / Activate the Vacuum Pump.

(e) Measure the voltage according to the value(s) in the table below.

Result:





Text in Illustration:





B -- CHECK WIRE HARNESS (ECM - CANISTER PUMP MODULE)
A -- Continue to next step.

23. CHECK WIRE HARNESS (CANISTER PUMP MODULE - BODY GROUND)

(a) Disconnect the canister pump module connector.





(b) Measure the resistance according to the value(s) in the table below.

Result:





Text in Illustration:





(c) Reconnect the canister pump module connector.

B -- REPAIR OR REPLACE HARNESS OR CONNECTOR

A -- REPLACE CANISTER

24. CHECK WIRE HARNESS (ECM - CANISTER PUMP MODULE)

(a) Disconnect the canister pump module connector.

(b) Disconnect the ECM connector.

(c) Measure the resistance according to the value(s) in the table below.

Result:





(d) Reconnect the canister pump module connector.

(e) Reconnect the ECM connector.

B -- REPAIR OR REPLACE HARNESS OR CONNECTOR

A -- REPLACE ECM

25. INSPECT INTAKE AIR SURGE TANK ASSEMBLY (EVAP PURGE PORT)

(a) Disconnect the EVAP hose from the intake air surge tank assembly.

(b) Start the engine.

(c) Use your finger to confirm that the port of the intake air surge tank assembly has suction.

Result:





(d) Reconnect the EVAP hose.

B -- INSPECT INTAKE AIR SURGE TANK ASSEMBLY (EVAP PURGE PORT)

A -- REPLACE EVAP HOSE (INTAKE AIR SURGE TANK ASSEMBLY - PURGE VSV)

26. CORRECTLY REINSTALL OR REPLACE FUEL CAP

HINT
* When reinstalling the fuel cap, tighten it until a few click sounds are heard.
* When replacing the fuel cap, use a fuel cap that meets OEM specifications, and install it until a few click sounds are heard.
NEXT -- PERFORM EVAP SYSTEM CHECK (AUTO OPERATION)

27. REPLACE FUEL CAP

HINT
When installing the fuel cap, tighten it until a few click sounds are heard.

NEXT -- PERFORM EVAP SYSTEM CHECK (AUTO OPERATION)

28. LOCATE EVAP LEAK PART

(a) Disconnect the vent hose.





Text in Illustration:





(b) Connect the EVAP pressure tester tool to the canister pump module with the adapter.





Text in Illustration:





(c) Pressurize the EVAP system to 3.2 to 3.7 kPa (24 to 28 mmHg).

(d) Apply soapy water to the piping and connecting parts of the EVAP system.

(e) Look for areas where bubbles appear. This indicates the leak point.

(f) Repair or replace the leak point.

HINT
Disconnect the hose between the canister and fuel tank from the canister. Block the charcoal canister assembly side and conduct an inspection. In this way, the fuel tank can be excluded as an area suspected of causing fuel leaks.

NEXT -- PERFORM EVAP SYSTEM CHECK (AUTO OPERATION)

29. REPLACE CANISTER

(a) Replace the canister assembly Removal.

NOTICE:
When replacing the canister, check the canister pump module interior and related pipes for water, fuel and other liquids. If liquids are present, check for disconnections and/or cracks in the following: 1) the pipe from the air inlet port to the canister pump module; 2) the air filter; and 3) the fuel tank vent hose.





Text in Illustration:





NEXT -- PERFORM EVAP SYSTEM CHECK (AUTO OPERATION)

30. REPLACE PURGE VSV





(a) Disconnect the connector and the 2 hoses from the purge VSV.

Text in Illustration:





(b) Remove the purge VSV.

(c) Install a new purge VSV.

(d) Reconnect the connector and 2 hoses.

NEXT -- PERFORM EVAP SYSTEM CHECK (AUTO OPERATION)

31. REPAIR OR REPLACE HARNESS OR CONNECTOR

NEXT -- PERFORM EVAP SYSTEM CHECK (AUTO OPERATION)

32. REPLACE EVAP HOSE (INTAKE AIR SURGE TANK ASSEMBLY - PURGE VSV)

NEXT -- PERFORM EVAP SYSTEM CHECK (AUTO OPERATION)

33. INSPECT INTAKE AIR SURGE TANK ASSEMBLY (EVAP PURGE PORT)

(a) Check that the EVAP purge port of the intake air surge tank assembly is not clogged. If necessary, replace the intake air surge tank assembly.

NEXT -- PERFORM EVAP SYSTEM CHECK (AUTO OPERATION)

34. REPLACE ECM

(a) Replace the ECM Removal.

NEXT -- PERFORM EVAP SYSTEM CHECK (AUTO OPERATION)

35. REPAIR OR REPLACE PARTS AND COMPONENTS INDICATED BY OUTPUT DTCS

(a) Repair the malfunctioning areas indicated by the DTCs that had been confirmed when the vehicle was brought in.

NEXT -- Continue to next step.

36. PERFORM EVAP SYSTEM CHECK (AUTO OPERATION)

NOTICE:
* The Evaporative System Check (Automatic Mode) consists of 5 steps performed automatically by the Techstream. It takes a maximum of approximately 18 minutes.
* Do not perform the Evaporative System Check when the fuel tank is more than 90% full because the cut-off valve may be closed, making the fuel tank leak check unavailable.
* Do not run the engine in this step.
* When the temperature of the fuel is 35°C (95°F) or more, a large amount of vapor forms and any check results become inaccurate. When performing an Evaporative System Check, keep the fuel temperature below 35°C (95°F).
(a) Connect the Techstream to the DLC3.

(b) Turn the ignition switch to ON.

(c) Turn the Techstream on.

(d) Clear the DTCs DTC Check / Clear.

(e) Enter the following menus: Powertrain / Engine / Utility / Evaporative System Check / Automatic Mode.

(f) After the Evaporative System Check is completed, check for pending DTCs by entering the following menus: Powertrain / Engine / Trouble Codes.

HINT
If no pending DTCs are found, the repair has been successfully completed.

NEXT -- COMPLETED

37. COMPLETED

CONFIRMATION DRIVING PATTERN

HINT
After a repair, check Monitor Status by performing the Key-Off Monitor Confirmation and Purge Flow Monitor Confirmation described below.

1. KEY-OFF MONITOR CONFIRMATION

(a) Preconditions

The monitor will not run unless:

* The vehicle has been driven for 10 minutes or more (in a city area or on a freeway).

* The fuel tank is less than 90% full.

* The altitude is less than 8000 ft. (2400 m).

* The engine coolant temperature is between 4.4°C and 35°C (40°F and 95°F).

* The intake air temperature is between 4.4°C and 35°C (40°F and 95°F).

* The vehicle remains stationary (the vehicle speed is 0 mph [0 km/h]).

(b) Monitor Conditions

* Allow the engine to idle for at least 5 minutes.

* Turn the ignition switch off and wait for 6 hours (8 or 10.5 hours).

HINT
Do not start the engine until checking Monitor Status. If the engine is started, the steps described above must be repeated.

(c) Monitor Status

* Connect the Techstream to the DLC3.

* Turn the ignition switch to ON.

* Turn the Techstream on.

* Enter the following menus: Powertrain / Engine / Monitor / Evaporative System.

* Check the Monitor Status displayed on the Techstream.

HINT
If Incomplete is displayed, the monitor is not completed. Make sure that the preconditions have been met, and perform the Monitor Conditions again.

2. PURGE FLOW MONITOR CONFIRMATION (P0441)

HINT
Perform this monitor confirmation after the Key-Off Monitor Confirmation shows complete.

(a) Preconditions

The monitor will not run unless:

* The vehicle has been driven for 10 minutes or more (in a city area or on a freeway).

* The engine coolant temperature is between 4.4°C and 35°C (40°F and 95°F).

* The intake air temperature is between 4.4°C and 35°C (40°F and 95°F).

(b) Monitor Conditions

* Release the pressure from the fuel tank by removing and reinstalling the fuel cap.

* Warm the engine up until the engine coolant temperature reaches more than 75°C (167°F).

* Increase the engine speed to 3000 rpm once.

* Allow the engine to idle and turn the the A/C switch on for 1 minute.

(c) Monitor Status

* Turn the ignition switch off (if ON or if the engine is running).

* Connect the Techstream to the DLC3.

* Turn the ignition switch to ON.

* Turn the Techstream on.

* Enter the following menus: Powertrain / Engine / Monitor / Evaporative System.

* Check the Monitor Status displayed on the Techstream.

HINT
If Incomplete is displayed, the monitor is not completed. Make sure that the preconditions have been met, and perform the Monitor Conditions again.

MONITOR RESULT

Refer to Checking Monitor Status Mode 6 Data.