Installation

Need a step-by-step guide?

Get an AI-powered repair guide with parts lists, cost estimates, and clear instructions for your 2010 Toyota.

AI Repair Guides




2GR-FE ENGINE CONTROL: CRANKSHAFT POSITION SENSOR: INSTALLATION

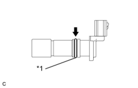
1. INSTALL CRANK POSITION SENSOR

(a) Apply a light coat of engine oil to the O-ring on the crank position sensor.





Text in Illustration:





(b) Install the crank position sensor with the bolt.





Torque : 10 Nm (102 kgf-cm, 7 ft-lbf)

(c) Connect the crank position sensor connector.

2. INSTALL COMPRESSOR AND MAGNETIC CLUTCH

(a) Install the compressor and magnetic clutch Installation.