Cruise Control Switch Circuit

Need a step-by-step guide?

Get an AI-powered repair guide with parts lists, cost estimates, and clear instructions for your 2010 Toyota.

AI Repair Guides




CRUISE CONTROL: CRUISE CONTROL SYSTEM: Cruise Control Switch Circuit
- Cruise Control Switch Circuit

DESCRIPTION

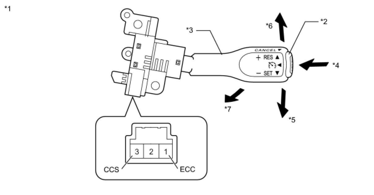
The cruise control main switch operates 7 functions: SET, -, TAP-DOWN, RES, +, TAP-UP, and CANCEL. The SET, TAP-DOWN, and - functions, and the RES, TAP-UP, and + functions are operated with the same switch. The cruise control main switch is an automatic return type switch which turns on only while it is being operated in the direction of each arrow and turns off after being released. The internal contact point of the cruise control main switch is turned on with the switch operation. Then the ECM reads the voltage value that has been changed by the switch operation to control SET, -, RES, +, and CANCEL.

WIRING DIAGRAM





INSPECTION PROCEDURE

PROCEDURE

1. READ VALUE USING TECHSTREAM (CRUISE CONTROL MAIN SWITCH OPERATION)

(a) Connect the Techstream to the DLC3.





Text in Illustration

Text in Illustration:





(b) Turn the ignition switch to ON.

(c) Turn the Techstream on.

(d) Enter the following menus: Powertrain / Cruise Control / Data List.

(e) Check the Data List for proper functioning of the cruise control main switch.

Cruise Control (ECM)

Cruise Control (ECM):





OK:

The display changes as shown above according to cruise control main switch operation.

Result

Result:





C -- REPLACE CRUISE CONTROL MAIN SWITCH Components

B -- INSPECT CRUISE CONTROL MAIN SWITCH

A -- PROCEED TO NEXT SUSPECTED AREA SHOWN IN PROBLEM SYMPTOMS TABLE Symptom Related Diagnostic Procedures

2. INSPECT CRUISE CONTROL MAIN SWITCH

(a) Remove the cruise control main switch Removal.

(b) Measure the resistance according to the value(s) in the table below.





Text in Illustration

Text in Illustration:





Standard Resistance:





*1: Lever is in neutral position

(c) Reinstall the cruise control main switch Installation.

NG -- REPLACE CRUISE CONTROL MAIN SWITCH Components
OK -- Continue to next step.

3. CHECK HARNESS AND CONNECTOR (CRUISE CONTROL MAIN SWITCH - SPIRAL CABLE SUB-ASSEMBLY)

(a) Remove the steering pad Removal.

(b) Disconnect the cruise control main switch connector.





Text in Illustration

Text in Illustration:





(c) Disconnect the spiral cable sub-assembly connector.

(d) Measure the resistance according to the value(s) in the table below.

Standard Resistance:





(e) Reconnect the spiral cable sub-assembly connector.

(f) Reconnect the cruise control main switch connector.

(g) Reinstall the steering pad Installation.

NG -- REPAIR OR REPLACE HARNESS OR CONNECTOR (CRUISE CONTROL MAIN SWITCH - SPIRAL CABLE SUB-ASSEMBLY)
OK -- Continue to next step.

4. INSPECT SPIRAL CABLE SUB-ASSEMBLY

NOTICE:
The spiral cable sub-assembly is an important part of the SRS airbag system. Incorrect removal or installation of the spiral cable sub-assembly may cause airbag deployment. Be sure to read the page shown in the brackets.

HINT
* Removal Removal
* Installation Installation

(a) Remove the spiral cable sub-assembly.





Text in Illustration

Text in Illustration:





(b) Measure the resistance according to the value(s) in the table below.

Standard Resistance:





HINT
The spiral cable makes a maximum of approximately 5 rotations.

(c) Reinstall the spiral cable sub-assembly.

NG -- REPLACE SPIRAL CABLE SUB-ASSEMBLY Components
OK -- Continue to next step.

5. CHECK HARNESS AND CONNECTOR (SPIRAL CABLE SUB-ASSEMBLY - ECM)

(a) Disconnect the ECM connector.

(b) Disconnect the spiral cable sub-assembly connector.

(c) Measure the resistance according to the value(s) in the table below.





Text in Illustration

Text in Illustration:





Standard Resistance (Check for Open):

For 1AR-FE

For 1AR-FE:





For 2GR-FE

For 2GR-FE:





Standard Resistance (Check for Short):

For 1AR-FE

For 1AR-FE:





For 2GR-FE

For 2GR-FE:





(d) Reconnect the spiral cable sub-assembly connector.

(e) Reconnect the ECM connector.

HINT
* *3: for 1AR-FE
* *4: for 2GR-FE

NG -- REPAIR OR REPLACE HARNESS OR CONNECTOR (SPIRAL CABLE SUB-ASSEMBLY - ECM)
OK -- Continue to next step.

6. CHECK HARNESS AND CONNECTOR (SPIRAL CABLE SUB-ASSEMBLY - BODY GROUND)

(a) Disconnect the spiral cable sub-assembly connector.





Text in Illustration

Text in Illustration:





(b) Measure the resistance according to the value(s) in the table below.

Standard Resistance:





(c) Reconnect the spiral cable sub-assembly connector.

Result:





C -- REPLACE ECM Components

B -- REPLACE ECM Components

A -- REPAIR OR REPLACE HARNESS OR CONNECTOR (SPIRAL CABLE SUB-ASSEMBLY - BODY GROUND)