Power Source Mode does not Change to ON (IG and ACC)

Need a step-by-step guide?

Get an AI-powered repair guide with parts lists, cost estimates, and clear instructions for your 2010 Toyota.

AI Repair Guides




THEFT DETERRENT / KEYLESS ENTRY: SMART KEY SYSTEM (for Start Function): Power Source Mode does not Change to ON (IG and ACC)
- Power Source Mode does not Change to ON (IG and ACC)

DESCRIPTION

When the engine switch is pushed with the electrical key in the cabin, the power management control ECU receives signals to change the power source mode.

HINT
To allow use of the Techstream to inspect the push-button start function when the power source mode is off, repeat opening and closing any of the doors. Opening and closing a door establishes communication between the Techstream and the power management control ECU. (Opening and closing a door can also be simulated by operating a door courtesy light switch.)

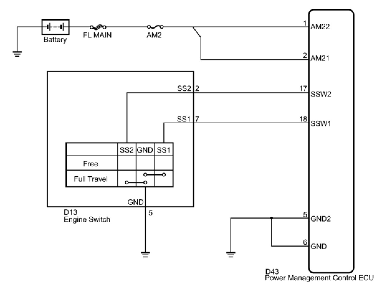
WIRING DIAGRAM





INSPECTION PROCEDURE

PROCEDURE

1. CHECK DTC

(a) Connect the Techstream to the DLC3.

(b) Turn the Techstream on.

(c) Turn on and off any of the door courtesy light switches repeatedly at 1.5-second intervals or less until communication between the Techstream and vehicle starts.

(d) Enter the following menus: Body Electrical / All ECUs / Health Check.

(e) Clear the DTC.

(f) Check for DTCs again.

OK:

DTCs are not output.

NG -- GO TO DIAGNOSTIC TROUBLE CODE CHART
OK -- Continue to next step.

2. CHECK SMART KEY SYSTEM

(a) Remove the battery of the electrical key transmitter Transmitter Battery (w/ Smart Key System).





(b) Touch the logo side mark of the key or card key to the engine switch.

(c) Check that the engine switch can be turned on (IG).

OK:

Power source mode can be changed.

NG -- GO TO OTHER FLOW CHART (Room Oscillator does not Recognize Key) Testing and Inspection
OK -- Continue to next step.

3. CHECK HARNESS AND CONNECTOR (BATTERY - POWER MANAGEMENT CONTROL ECU) B2271

NG -- REPAIR OR REPLACE HARNESS OR CONNECTOR (BATTERY - POWER MANAGEMENT CONTROL ECU)
OK -- Continue to next step.

4. CHECK HARNESS AND CONNECTOR (POWER MANAGEMENT CONTROL ECU - BODY GROUND) B2271

NG -- REPAIR OR REPLACE HARNESS OR CONNECTOR (POWER MANAGEMENT CONTROL ECU - BODY GROUND)
OK -- Continue to next step.

5. READ VALUE USING TECHSTREAM

(a) Reconnect the D42 connector to the power management control ECU.

(b) Enter the following menus: Body Electrical / Power Source Control / Data List.

(c) Read the Data List according to the display on the Techstream.

Power Source Control

Power Source Control:





OK:

ON (engine switch is pushed) and OFF (engine switch is not pushed) appear on the screen.

NG -- INSPECT ENGINE SWITCH

OK -- REPLACE POWER MANAGEMENT CONTROL ECU Removal

6. INSPECT ENGINE SWITCH

(a) Remove the engine switch Removal.





(b) Measure the resistance according to the value(s) in the table below.

Standard Resistance:





Text in Illustration

Text in Illustration:





(c) Proceed to next step based on the inspection result.





C -- REPLACE ENGINE SWITCH (for 1AR-FE) Removal

B -- REPLACE ENGINE SWITCH (for 2ZR-FE) Removal
A -- Continue to next step.

7. CHECK HARNESS AND CONNECTOR (ENGINE SWITCH - POWER MANAGEMENT CONTROL ECU AND BODY GROUND)

(a) Disconnect the D43 connector from power management control ECU.





(b) Measure the resistance according to the value(s) in the table below.

Standard Resistance:





Text in Illustration

Text in Illustration:





NG -- REPAIR OR REPLACE HARNESS OR CONNECTOR (ENGINE SWITCH - POWER MANAGEMENT CONTROL ECU OR BODY GROUND)

OK -- REPLACE POWER MANAGEMENT CONTROL ECU Removal