Component Inspection

Need a step-by-step guide?

Get an AI-powered repair guide with parts lists, cost estimates, and clear instructions for your 2003 Toyota.

AI Repair Guides
INSPECTION




1. INTAKE AIR FLOW METER SUB-ASSY

a. Inspect the intake air flow meter resistance.
Using an ohmmeter, measure the resistance between terminals THA and E2.

Resistance:

At -20 °C (-4 °F) 13.6 - 18.4 kohm
At 20 °C (68 °F) 2.21 - 2.69 kohm
At 60 °C (140 °F) 0.49 - 0.67 kohm

HINT: If the resistance is not as specified, replace the intake air flow meter.




b. Inspect the intake air flow meter operation.
1. Connect the intake air flow meter connector.
2. Turn the ignition switch to ON.
3. Using a voltmeter, connect the positive (+) tester probe to terminal VG, and negative (-) tester probe to terminal E2G.
4. Blow air into the intake air flow meter, and check that the voltage fluctuates.

HINT: If operation is not as specified, replace the intake air flow meter.

5. Turn the ignition switch to LOCK.
6. Disconnect the intake air flow meter connector.

2. CAMSHAFT TIMING OIL CONTROL VALVE ASSY

a. Resistance inspection.
Using an ohmmeter, measure the resistance between the terminals.

Resistance: 6.9 - 7.9 ohm @ 20 °C (68 °F)




b. Movement inspection.
Connect the positive (+) lead from the battery to terminal 1 and negative (-) lead to terminal 2, and check the movement of the valve.

NOTE: Confirm the valve does not adhere.

HINT: Bad returning of the valve by entrance of foreign objects causes subtle pressure leak to the advanced direction. Then, DTC can be detected.




3. THROTTLE BODY ASSY

Check throttle body.
1. Check that throttle valve shaft is not rickety.
2. Check that each port is not stopped up.
3. Check that throttle valve opens and closes smoothly.
4. Check that there is no clearance between the throttle stop screw and throttle lever at the throttle closed position.

NOTE: Do not adjust the throttle stop screw.




4. E.F.I. THROTTLE POSITION SENSOR

Resistance inspection.
1. Disconnect the throttle position sensor connector.
2. Using an ohmmeter, measure the resistance between terminals VC and E2.

Resistance: 2.5 - 6.0 Kohm

3. Check the change of resistance between terminals VTA and E2.

Change of resistance:

The resistance value increases in proportion to the throttle lever opening value









5. E.F.I. ENGINE COOLANT TEMPERATURE SENSOR

Resistance inspection.
Using an ohmmeter, measure the resistance between each terminal.

Resistance:

At 20 °C (68 °F) 2.32 - 2.59 kohm
At 80 °C (176 °F) 0.310 - 0.326 kohm

NOTE: In case of checking the water temperature sensor in the water, be careful not to allow water to go into the terminals, and after checking, wipe out the sensor.




6. KNOCK CONTROL SENSOR

Using an ohmmeter, measure the resistance between terminals.

Resistance: 120 - 280 kohm @ 20 °C (68 °F)

HINT: If the resistance is not specified, replace the sensor.




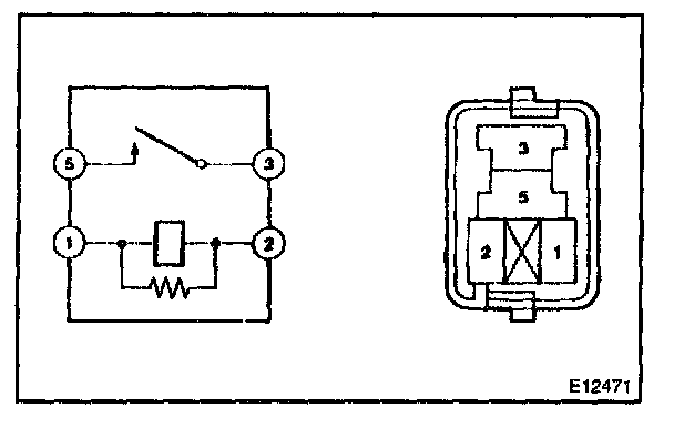
7. E.F.I. CIRCUIT OPENING RELAY ASSY

Continuity inspection.
1. Using an ohmmeter, check that continuity exists between each terminal.

Specified condition:

Between terminals 1 and 2: Continuity
Between terminals 3 and 5: No continuity

2. Using an ohmmeter, check that continuity exists between terminals 3 and 5 when the battery voltage is applied across terminals 1 and 2.




8. E.F.I ECU RELAY

Continuity inspection.
1. Using an ohmmeter, check that continuity exists between each terminal.

Specified condition:

Between terminals 1 and 2: Continuity
Between terminals 3 and 5: No continuity

2. Using an ohmmeter, check that continuity exists between terminals 3 and 5 when the battery voltage is applied across terminals 1 and 2.