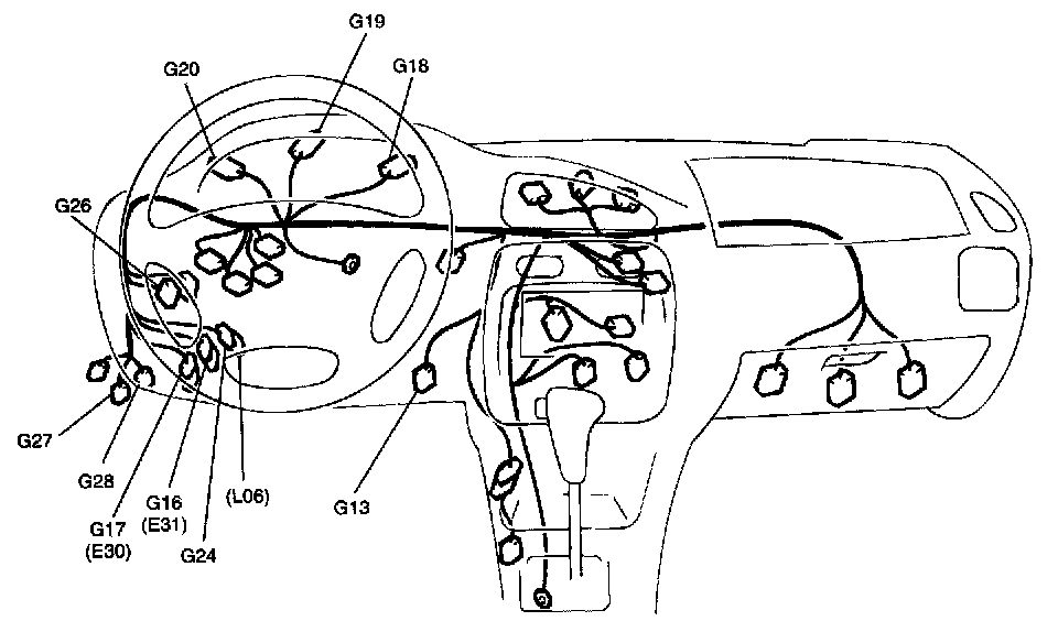
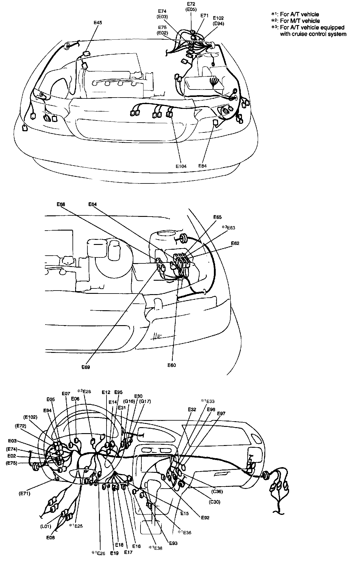
Connector Locations

Need a step-by-step guide?

Get an AI-powered repair guide with parts lists, cost estimates, and clear instructions for your 1998 Suzuki.

AI Repair Guides

WIRE HARNESS AND CONNECTORS
Terminal assignment on each connector below indicates viewed from terminal side.








Engine Harness and Connector "C"





Main Harness ("E" connectors)





Main Harness Connectors "E"








Instrument Panel Harness and Connectors "G"











Floor Harness and Connector "L"/Fuel Pump Harness and Connector "R"