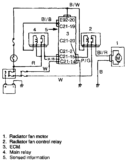
Radiator Fan Control System

Need a step-by-step guide?

Get an AI-powered repair guide with parts lists, cost estimates, and clear instructions for your 1998 Suzuki.

AI Repair Guides







RADIATOR FAN CONTROL SYSTEM
This system controls operation (ON/OFF) of the radiator fan motor. Radiator fan motor is turned ON and OFF by its relay which ECM controls.
Radiator fan motor is turned ON/OFF under following engine coolant temp.