Scan Tool Testing and Procedures

Need a step-by-step guide?

Get an AI-powered repair guide with parts lists, cost estimates, and clear instructions for your 1998 Suzuki.

AI Repair Guides




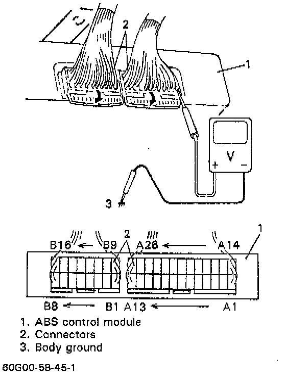
Voltage between each terminal of module connector and body ground is as follows.

CAUTION: Never connect voltmeter or ohmmeter to ABS control module with connector disconnected from it. Attempt to do it may cause damage to ABS control module.





NOTE: As each terminal voltage is affected by the battery voltage, confirm that it is 11V or more when ignition switch is ON.