Drive Pinion Shaft

Need a step-by-step guide?

Get an AI-powered repair guide with parts lists, cost estimates, and clear instructions for your 2002 Subaru.

AI Repair Guides
A: REMOVAL
1. Extract the torque converter clutch assembly.





2. Remove the input shaft.
3. Disconnect transmission harness connector from stay.

NOTE: Lift-up lever behind the connector and disconnect it from stay.

4. Disconnect inhibitor switch connector from stay.
5. Disconnect the air breather hose.
6. Remove the oil charger pipe.
7. Remove the oil cooler inlet and outlet pipes.
8. Separation of torque converter clutch case and transmission case sections
9. Separate transmission case and extension case sections.
10. Remove the reduction driven gear.





11. Separation of drive pinion shaft and oil pump housing.

B: INSTALLATION
1. Assemble the drive pinion assembly to the oil pump housing.
2. Install oil pump housing to transmission case.
3. Combine the torque converter case with the transmission case.
4. Install the reduction driven gear.
5. Combine the extension case with the transmission case, and install vehicle speed sensor 1 (rear).
6. Insert inhibitor switch and transmission connector into stay.
7. Install air breather hose.
8. Install the oil charger pipe with O-ring.





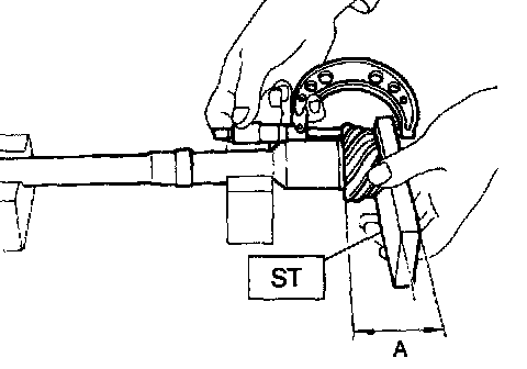
9. Insert the input shaft while turning lightly by hand.

CAUTION: Be careful not to damage the bushing.

Normal protrusion A: 50 - 55 mm (1.97 - 2.17 inch)
10. Install the torque converter clutch assembly.

C: DISASSEMBLY





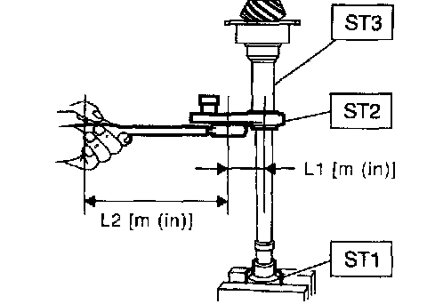
1. Straighten the staked portion of the lock nut, and remove the lock nut while locking the rear spline portion of the shaft with ST1 and ST2. Then pull off the drive pinion collar
ST1 498937110 HOLDER
ST2 499787700 WRENCH
ST3 499787500 ADAPTER
2. Remove the O-ring.





3. Using a press, separate the rear roller bearing and outer race from the shaft.





4. Using a press and ST, separate the front roller bearing from the shaft.
ST 498517000 REPLACER

D: REASSEMBLY





1. Measure dimension "A" of the drive pinion shaft.
ST 398643600 GAUGE





2. Using a press, force-fit the roller bearing in position.

CAUTION: Do not change the relative positions of the outer race and bearing cone.

NOTE: If too much pressure is applied, the roller bearing will not turn easily.

3. After fitting the O-ring to the shaft, attach the drive pinion collar to the shaft.

NOTE: Be careful not to damage the O-ring.

4. Tighten the lock washer and lock nut with ST1, ST2 and ST3.
Calculate lock washer and lock nut specifications using the following formula.
T2 = L2/(L1 + L2) x T1
T1: 116 Nm (11.8 kgf-m, 85.3 ft. lbs.)
[Required torque setting]
T2: Tightening torque
L1: ST2 length 0.072 m (2.83 inch)
L2: Torque wrench length





Example

ST1 498937110 HOLDER
ST2 499787700 WRENCH
ST3 499787500 ADAPTER





NOTE:
^ Pay attention to the orientation of lock washer.
^ Install ST2 to torque wrench as straight as possible.





5. Measure the starting torque of the bearing. Make sure the starting torque is within the specified range. If out of the allowable range, replace the roller bearing.
Starting torque: 7.6 - 38.1 N (0.776 - 3.88 kgf, 5.6 - 28.1 ft.)
6. Stake the lock nut securely at two places.





7. Measure dimension "B" of the drive pinion shaft.
ST 398643600 GAUGE





8. Determine the thickness "t" (mm) of the drive pinion shim.

NOTE: The number of shims must be three or less.

t = 6.5 ± 0.0625 - (B - A)

E: INSPECTION
^ Make sure that all component parts are free of harmful cuts, gouges, and other faults.
^ Adjust the teeth alignment.

F: ADJUSTMENT





1. Install the oil pump housing assembly to the torque converter clutch case, and secure evenly by tightening four bolts.

NOTE:
^ Thoroughly remove the liquid gasket from the case mating surface beforehand.
^ Use an old gasket or an aluminum washer so as not to damage the mating surface of the housing.

Tightening torque: 41 Nm (4.2 kgf-m, 30.4 ft. lbs.)





2. Rotate the drive pinion several times with ST1 and ST2.
ST1 498937110 HOLDER
ST2 499787700 WRENCH





3. Apply red lead evenly to the surfaces of three or four teeth of the crown gear. Rotate the drive pinion in the forward and reverse directions several times. Then remove the oil pump housing, and check the tooth contact pattern.
If tooth contact is improper, readjust the backlash or shim thickness.





4. If tooth contact is correct, mark the retainer position and loosen it. After fitting the O-ring, screw in the retainer to the marked position. Then tighten the lock plate to the specified torque.
Tightening torque: 25 Nm (2.5 kgf-m, 18.1 ft. lbs.)