Disassembly and Assembly

Need a step-by-step guide?

Get an AI-powered repair guide with parts lists, cost estimates, and clear instructions for your 2002 Subaru.

AI Repair Guides
DISASSEMBLY




1. Heat the portion (A) of rear cover to 50 °C (122 °F) with heater drier.




2. Remove the four through-bolts. Then insert the tip of a flat-head screwdriver into the gap between the stator core and front bracket. Pry then apart to disassemble.




3. Hold rotor with a vise and remove pulley nut.

CAUTION: When holding rotor with vise, insert aluminum plates or wood pieces on the contact surfaces of the vise to prevent rotor from damage.




4. Remove rotor from front cover.




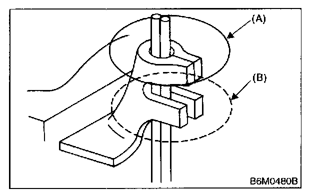
5. Remove three screws from front cover and then bearing retainer (A) and ball bearing (B) from front cover (C).




6. Remove bolt which secure battery terminal bolt (A), and remove rear cover. Remove nuts which secure diode plate, and remove stator (B) and rear cover (C).




7. Separate diode plate from stator coil.
1. Cut the connecting position (A) of stator coil to diode.
2. Unsolder connection (B) and throughout the lead wire of stator coil.




3. Remove stator coil from diode plate.





8. Remove bolts which secure IC regulator, diode and brush holder.

CAUTION: Do not apply a shock or load to IC regulator cooling fins.

ASSEMBLY
Assemble in the reverse order of disassembly.

CAUTION:




- When disassembling generator, replace rear ball bearing.
- When soldering starter coil to diode, do not touch lead wire with solder for more than 5 seconds.




- Before installing rear cover, insert pin from outside of rear cover so that holds brush. After installing rear cover, remove pin.




- When installing rear cover, heat portion (A) to 50 °C (122 °F) with heater drier.