Knock Sensor: Description and Operation

Need a step-by-step guide?

Get an AI-powered repair guide with parts lists, cost estimates, and clear instructions for your 2002 Subaru.

AI Repair Guides



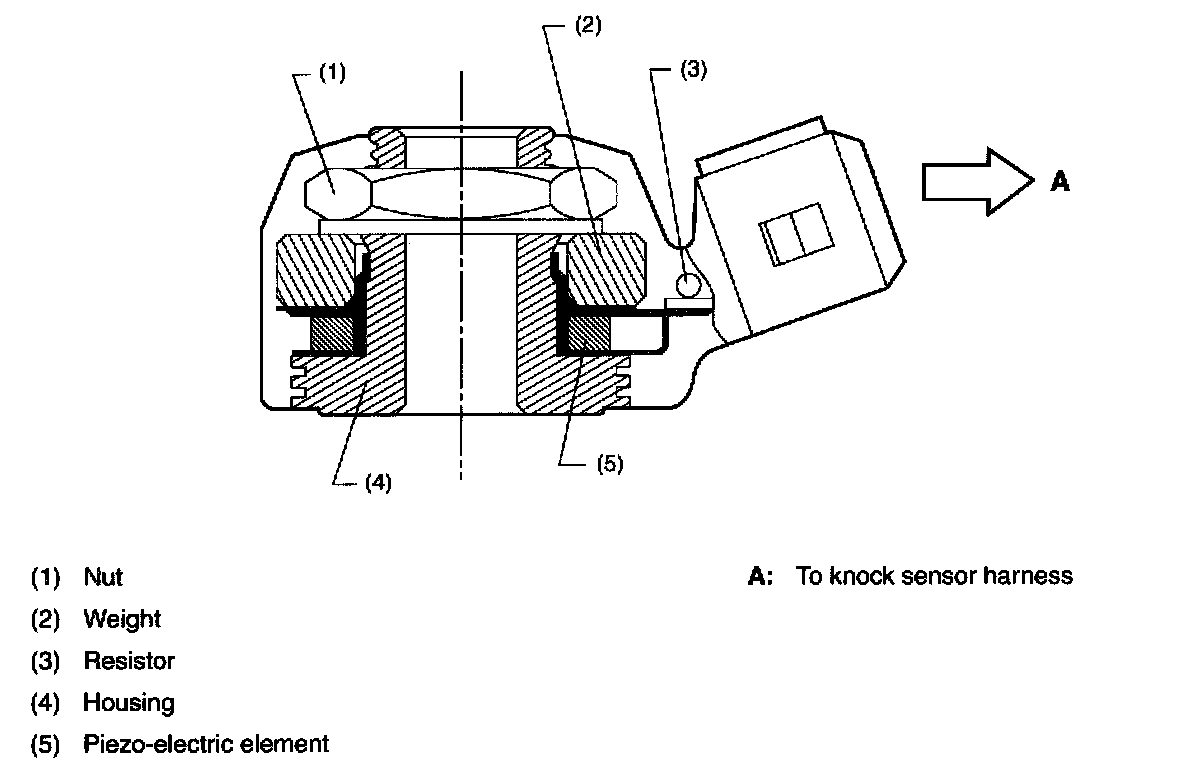
- The knock sensor is installed on the cylinder block, and senses knocking that occurs in the engine.
- The sensor is a piezo-electric type which converts vibration resulting from knocking into electric signals.
- In addition to a piezo-electric element, the sensor has a weight and case as its components. If knocking occurs in the engine, the weight in the case moves causing the piezo-electric element to generate a voltage.
- The knock sensor harness is connected to the bulkhead harness.