General Description

Need a step-by-step guide?

Get an AI-powered repair guide with parts lists, cost estimates, and clear instructions for your 2002 Subaru.

AI Repair Guides
HOW TO READ WIRING DIAGRAMS

1. WIRING DIAGRAM
The wiring diagram of each system is illustrated so that you can understand the path through which the electric current flows from the battery.
Sketches and codes are used in the diagrams. They should read as follows:




- Each connector and its terminal position are indicated by a sketch of the connector in a disconnected state which is viewed from the front.




- The number of poles or pins, presence of a lock, and pin number of each terminal are indicated in the sketch of each connector. In the sketch, the highest pole number refers to the number of poles which the connector has. For example, the sketch of the connector shown in figure indicates the connector has 9 poles.




- When one set of connectors is viewed from the front side, the pole numbers of one connector are symmetrical to those of the other. When these two connectors are connected as a unit, the poles which have the same number are joined.

- Electrical wiring harness:
The connectors are numbered along with the number of poles, external colors, and mating connections in the accompanying list.
- The sketch of each connector in the wiring diagram usually shows the (A) side of the connector. The relationship between the wire color, terminal number and connector is described in figure.




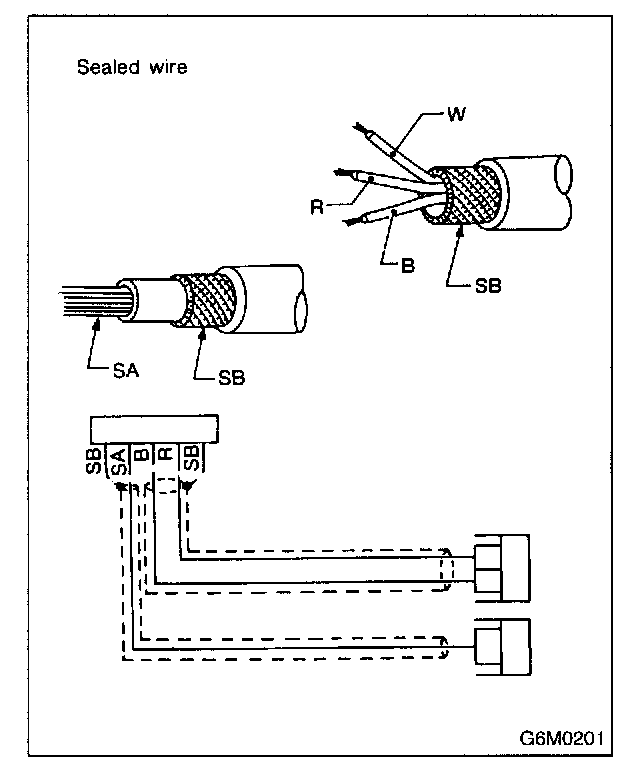
NOTE: A wire which runs in one direction from a connector terminal sometimes may have a different color from that which runs in the other direction from that terminal.




- In wiring diagram, connectors which have no terminal number refer to one-pole types. Sketches of these connectors are omitted intentionally.







- The color codes shown are used to indicate the colors of the wires used.




- The wire color code, which consists of two letters (or three letters including Br or Lg), indicates the standard color (base color of the wire covering) by its first letter and the stripe marking by its second letter.
- The table lists the nominal sectional areas and allowable currents of the wires.

CAUTION: When replacing or repairing a wire, be sure to use the same size and type of the wire which was originally used.

NOTE: The allowable current in the table indicates the tolerable amperage of each wire at an ambient temperature of 40°C (104°F).




- The allowable current changes with ambient temperature. Also, it changes if a bundle of more than two wires is used.




- Each unit is directly grounded to the body or indirectly grounds through a harness ground terminal. Different symbols are used in the wiring diagram to identify the two grounding systems.
- The ground points is shown in the wiring diagram.




NOTE: All wiring harnesses are provided with a ground point which should be securely connected.




- Relays are classified as normally-open or normally-closed The normally-closed relay has one or more contacts.
The wiring diagram shows the relay mode when the energizing circuit is OFF.







- Each connector number shown in the wiring diagram corresponds to that in the wiring harness. The location of each connector in the actual vehicle is determined by reading the first character of the connector (for example, a "F" for F8, "i" for i16, etc.) and the type of wiring harness.
The first character of each connector number refers to the area or system of the vehicle.