Functions

Need a step-by-step guide?

Get an AI-powered repair guide with parts lists, cost estimates, and clear instructions for your 2002 Subaru.

AI Repair Guides
FUNCTIONS

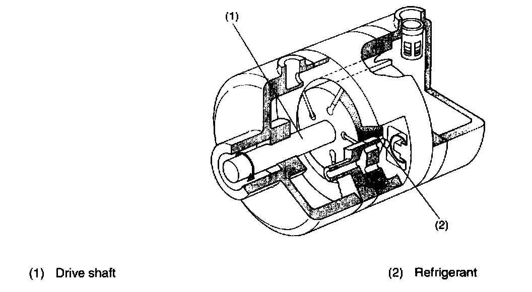
As the rotor rotates, the volume of each cylinder chamber changes. This creates the compressor's suction, compression and discharge functions as explained in the following:




1. Suction:
Low-pressure gaseous refrigerant is forced out from the evaporator by rotation of the compressor. It enters the low-pressure chamber in the rear head through the check valve. The refrigerant is then drawn into the cylinder by rotation of the vane-fitted rotor through the two suction ports provided in the rear side block. Air tightness of the cylinder chambers is maintained by the compressor oil.




2. Compression:
Further rotation of the rotor after suction makes the volume of each cylinder chamber smaller, thus compression occurs.




3. Discharge:
When the pressure of refrigerant in the cylinder chamber exceeds a predetermined pressure, the roll valve opens to discharge the refrigerant through a pipe-shaped passage built in the front side block into the high-pressure chamber in the front head. The gaseous refrigerant in the high-pressure chamber is led to a baffle, which separates the compressor oil contained in the refrigerant before it flows into the high-pressure piping.