System Diagram

Need a step-by-step guide?

Get an AI-powered repair guide with parts lists, cost estimates, and clear instructions for your 2002 Subaru.

AI Repair Guides
COMPONENT





1. FRONT DISC BRAKE





2. REAR DISC BRAKE

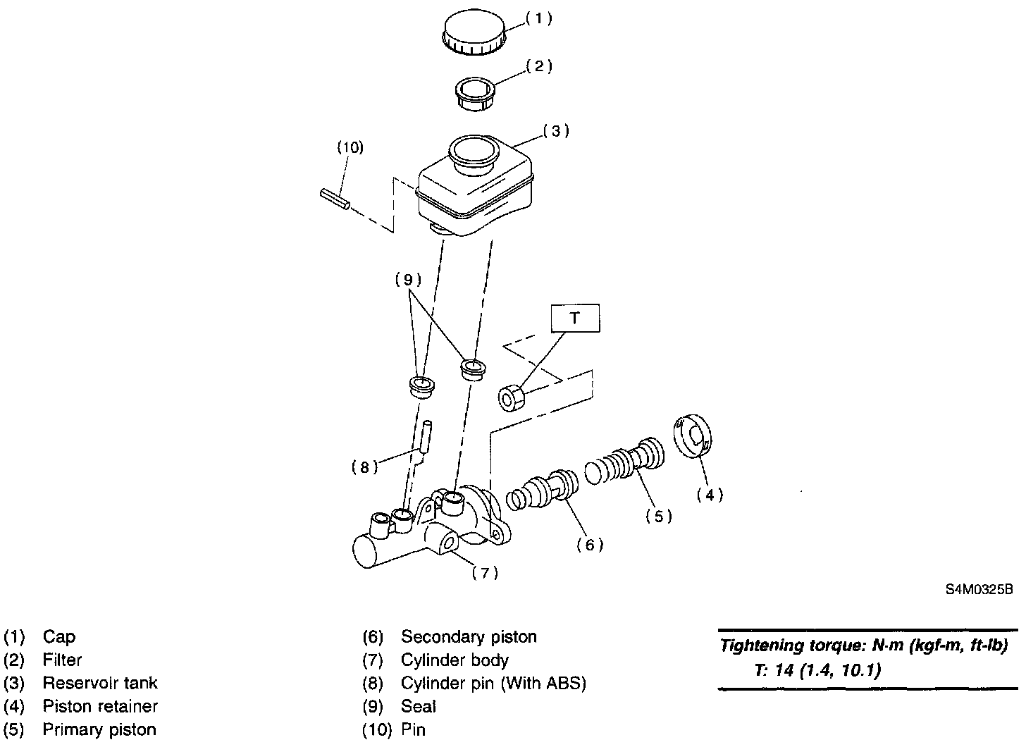
3. MASTER CYLINDER





^ Without VDC model





^ With VDC model





4. BRAKE PIPES AND HOSE





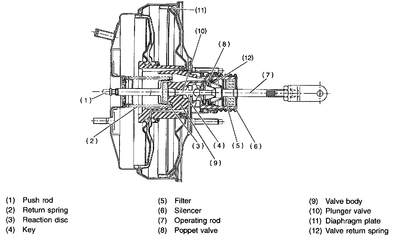
5. BRAKE BOOSTER





6. BRAKE PEDAL FOR MT MODEL





7. BRAKE PEDAL FOR AT MODEL