Brakes and Traction Control: Description and Operation

Need a step-by-step guide?

Get an AI-powered repair guide with parts lists, cost estimates, and clear instructions for your 2002 Subaru.

AI Repair Guides
BRAKES
1. Front and Rear Disc Brakes





^ The front disc brakes are of a ventilated disc type which features high heat dissipation and superb braking stability. In addition, the front brakes quickly restores their original braking performance even when they get wet.
^ The rear brakes are disc brakes.
^ Each disc rotor, which is fitted on the outside of the hub, is secured together with the wheel using the hub bolts. This facilitates its removal and installation.
^ The inner brake pad is provided with a wear indicator.

PAD WEAR INDICATOR





A wear indicator is provided on the inner disc brake pads. When the pad wears down to 1.5 mm (0.059 inch) the tip of the wear indicator comes into contact with the disc rotor, and makes a squeaking sound as the wheel rotates. This alerts the driver to the situation.

FRICTIONAL MATERIAL OF BRAKE PADS
The brake pads materials do not contain any asbestos which is harmful to human body.

2. Master Cylinder
^ There is a brake fluid reservoir tank on the master cylinder. The reservoir is completely sealed for extended service life of the brake fluid.





ABS model





VDC model

BRAKE FLUID LEVEL SWITCH





The brake fluid level switch is located inside the brake fluid reservoir tank and causes the brake system warning light on the combination meter to come on when the fluid level has dropped below the predetermined level.
The switch assembly consists of a reed switch (normally open) and a permanent magnet that is incorporated in a float.
When the brake fluid level is normal, the float is far above the reed switch, so the force of the magnet is unable to act on the reed switch. The warning light circuit, therefore, remains open.
When the brake fluid level drops to a level approximately 30 mm (1.18 inch) below the maximum level and the float lowers accordingly, the magnet aligns with the reed switch, activating the reed switch contact. The warning light then comes on to warn the driver of the situation. The warning light may, although momentarily, illuminate even when the brake fluid level is normal if the vehicle tilts or swing largely.

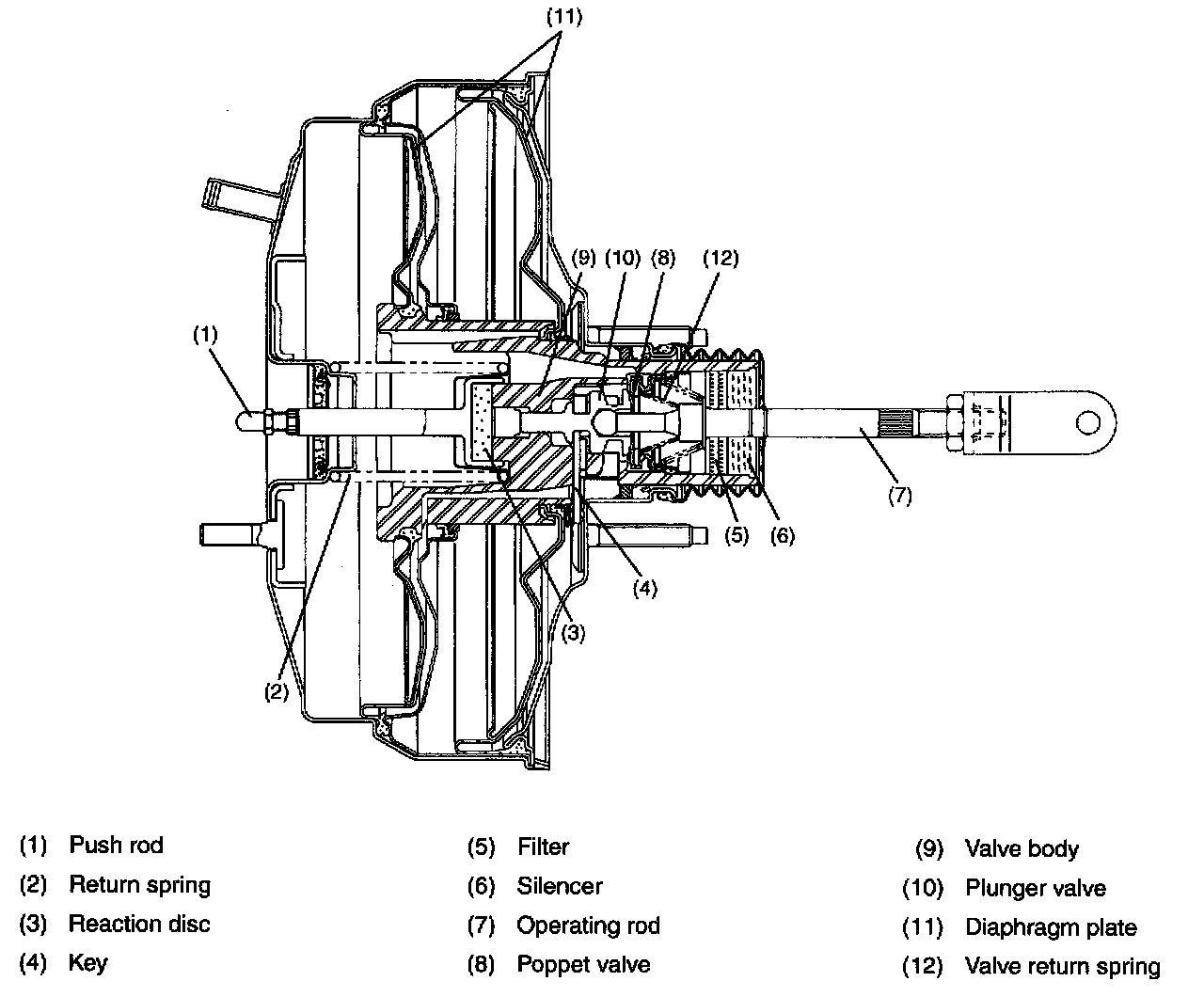
3. Brake Booster





^ The brake booster is a tandem type that uses two diaphragms. This design provides high brake boosting effects in spite of a reduced diameter.
^ All models are equipped with an 8 inch + 9 inch booster.

4. Proportioning Valve





The proportioning valve prevents the rear wheels from locking and resultant skidding that would occur during hard braking due to transfer of vehicle weight toward the front wheels. The valve distributes a reduced pressure to the rear wheel brakes as compared with the pressure to the front wheel brakes when a specified master cylinder fluid pressure (called "split point") is exceeded as shown in the diagram.

OPERATION





1. Operation before the split point
The piston is held pressed toward the left by the spring so that the valve is kept away from its seat.
Under this condition, fluid pressure "P3" to the rear wheel cylinders is equal to fluid pressure "P2" from the master cylinder.





2. Operation at the split point pressure
When pressure "P2" increases to the split point pressure, force "f2" is generated. (Piston's cross sectional area "A" has been selected so that the force is generated starting with the split point pressure.) The pressure pushes the piston rightward, overcoming spring force "F". As a result, the valve seat moves together with the piston rightward and comes in contact with the valve, blocking the passage toward the rear wheel cylinders.
3. Operation after reaching the split point pressure
Immediately before the fluid passage toward the rear wheel cylinders is closed, pressure "P2" is slightly higher than pressure "P3". So the piston can move in the spring force acting direction and the fluid can flow to the wheel cylinders. However, as soon as pressure "P2" becomes equal to "P3", the valve closes.
This cycle is repeated as long as the pedal is depressed further, but pressure increasing rate of the rear wheel cylinders is smaller than that of the front wheel cylinders.