Vehicle Dynamics Control (VDC) System

Need a step-by-step guide?

Get an AI-powered repair guide with parts lists, cost estimates, and clear instructions for your 2002 Subaru.

AI Repair Guides
OUTLINE





The vehicle dynamics control (VDC) system is a driver assist system which enhances vehicle's running stability by utilizing the anti-lock brake system (ABS) and traction control system (TCS) functions in combination with its own function which reduces sudden changes in vehicle behavior that are likely to occur when travelling on a slippery road or quickly avoiding an obstacle on the road.

OPERATION PRINCIPLE OF VDC
1. OVERSTEER SUPPRESSION





When the vehicle starts to spin during cornering, the VDC control module (VDCCM) actuates the brakes on the front and rear outer wheels. As a result, a force that counteracts the oversteer-causing yaw moment is generated so that the vehicle's behavior is stabilized.

2. UNDERSTEER SUPPRESSION





When the vehicle starts to drift outward during cornering, the VDCCM causes the rear inner wheel to be braked. As a result, a force that counteracts the understeer-causing yaw moment is generated so that the vehicle's behavior is stabilized.





FUNCTIONS USED IN VEHICLE'S BEHAVIOR STABILIZATION CONTROL

NOTE:
^ "Braking control" is effected by the VDCCM as follows:
The VDCCM calculates the required braking force for each wheel and sends signals to the VDC hydraulic unit. The hydraulic unit's motor pump is then operated to generate the required hydraulic pressure. Further, it controls the hydraulic unit's solenoid valves to increase, maintain or decrease the hydraulic pressure applied to the brake wheel cylinder as required.
When the brakes are applied by the driver, however, the braking force is controlled by the hydraulic pressure resulting from the driver's action.

^ "Engine output control" is effected by the VDCCM as follows:
The VDCCM calculates the target engine output for each condition, and compares it with the current engine output. Based on the result of comparison, it determines the number of cylinders for which fuel injection is to be stopped and sends a command to the engine control module. The targeted engine output is then achieved.

^ "AWD control" is effected by the VDCCM as follows:
When necessary, the VDCCM sends a command to the automatic transmission control module. According to the command, the transmission control module controls the transfer clutch so that the torque is distributed between the front and rear axles optimally.

SYSTEM COMPONENTS AND FUNCTIONS





Table





Schematic

NOTE: CAN (Controller Area Network) communication refers to bi-directional multiplex high-speed communication.

VDC OFF SWITCH





A switch which allows the driver to temporarily disengage VDC control is added. In some occasions, better results are obtained by canceling the VDC to allow the drive wheels to slip for a certain amount:
^ When starting the vehicle on icy or unpaved, steep uphill roads.
^ When escaping from mud or snow when the wheels are caught in them.
^ When the VDC OFF switch is pressed while the engine is running, the VDC OFF indicator light in the combination meter illuminates, and VDC control is temporarily disengaged. When the VDC OFF switch is pressed again, the VDC OFF indicator light turns off and the system returns to "engaged" status. ("Temporarily disengaged" status and "engaged" status are altered each time the switch is pressed.)
^ The VDC control "temporarily disengaged" status automatically returns to "engaged" status when the vehicle speed exceeds 60 km/h (38 MPH). (VDC control cannot be temporarily disengaged at vehicle speeds higher than 60 km/h (38 MPH).
^ If the VDC OFF switch is pressed and held for more than 10 seconds, the VDC OFF indicator light in the combination meter turns off. The system will not allow further operation of the switch until the engine is started for the next time.

OPERATION OF VDC HYDRAULIC CONTROL UNIT (VDCH/U)
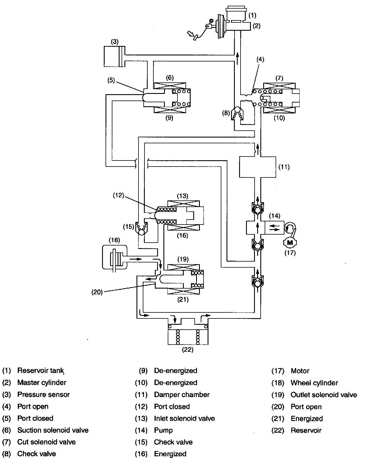
1. DURING NORMAL BRAKING





No solenoid valves are energized. The ports of the inlet solenoid valve and cut solenoid valve are open, while the ports of the outlet solenoid valve and suction solenoid valve are closed.
In this state, the fluid pressure generated by the master cylinder can be applied to the wheel cylinder through the open ports of the cut solenoid valve and inlet solenoid valve.

NOTE: For simplicity of explanation, operation of the hydraulic control unit is represented by operation of a single wheel circuit.

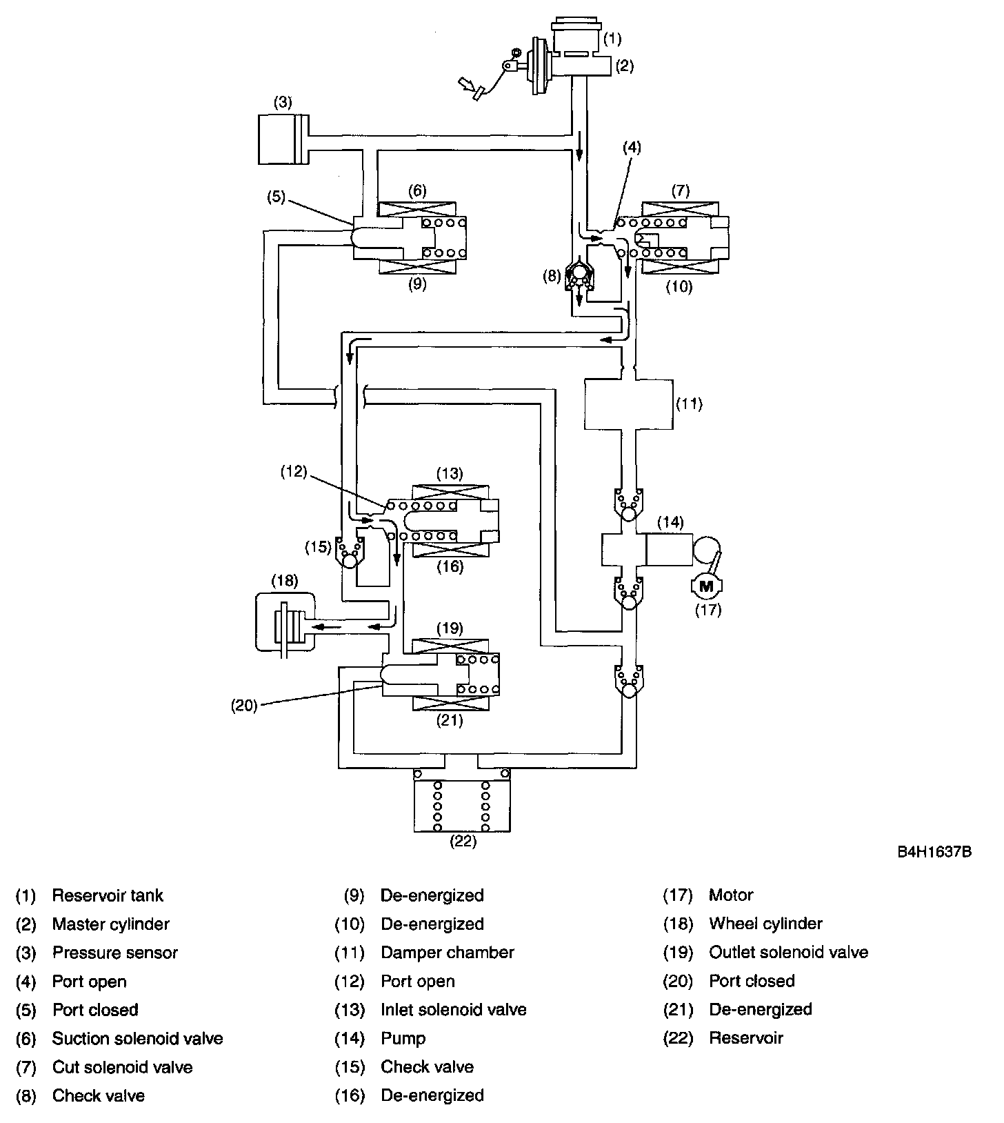
2. PRESSURE "DECREASE" CONTROL WITH BRAKE PEDAL DEPRESSED





The inlet solenoid valve and outlet solenoid valve are energized, while the other solenoid valves are not energized. This means that the ports of the inlet solenoid valve and suction solenoid valve are closed, while those of the outlet solenoid valve and cut solenoid valve are open.
Although the fluid pressure generated by the master cylinder can reach the inlet solenoid valve through the open port of the cut solenoid valve, the pressurized fluid cannot go further since the passage is blocked there. On the other hand, since the port of the outlet solenoid valve is open, the brake fluid in the wheel cylinder can flow out into the reservoir. The fluid pressure in the wheel cylinder decreases as a result. The brake fluid in the reservoir is pumped back into the master cylinder.

NOTE: For simplicity of explanation, operation of the hydraulic control unit is represented by operation of a single wheel circuit.

3. PRESSURE "HOLD" CONTROL WITH BRAKE PEDAL DEPRESSED





Only the inlet solenoid valve is energized. This means that the ports of the inlet solenoid valve, outlet solenoid valve and suction solenoid valve are all closed except that of the cut solenoid valve.
In this state, the fluid pressure generated by the master cylinder is transmitted through the open port of the cut solenoid valve to the inlet solenoid valve but not beyond the inlet solenoid valve since the passage is blocked there. As the port of the outlet solenoid valve is also closed, the fluid pressure in the wheel cylinder is held unreleased.
The pump is always operated whenever commanded by the VDCCM.

NOTE: For simplicity of explanation, operation of the hydraulic control unit is represented by operation of a single wheel circuit.

4. PRESSURE "INCREASE" CONTROL WITH BRAKE PEDAL DEPRESSED





No solenoid valves are energized. This means that the ports of the inlet solenoid valve and cut solenoid valve are open, while those of the outlet solenoid valve and suction solenoid valve are closed.
In this state, the fluid pressure generated by the master cylinder is transmitted to the wheel cylinder through the open ports of the cut solenoid valve and inlet solenoid valve, applying the brake with an increased force. The pump is always operated whenever commanded by the VDCCM.

NOTE: For simplicity of explanation, operation of the hydraulic control unit is represented by operation of a single wheel circuit.

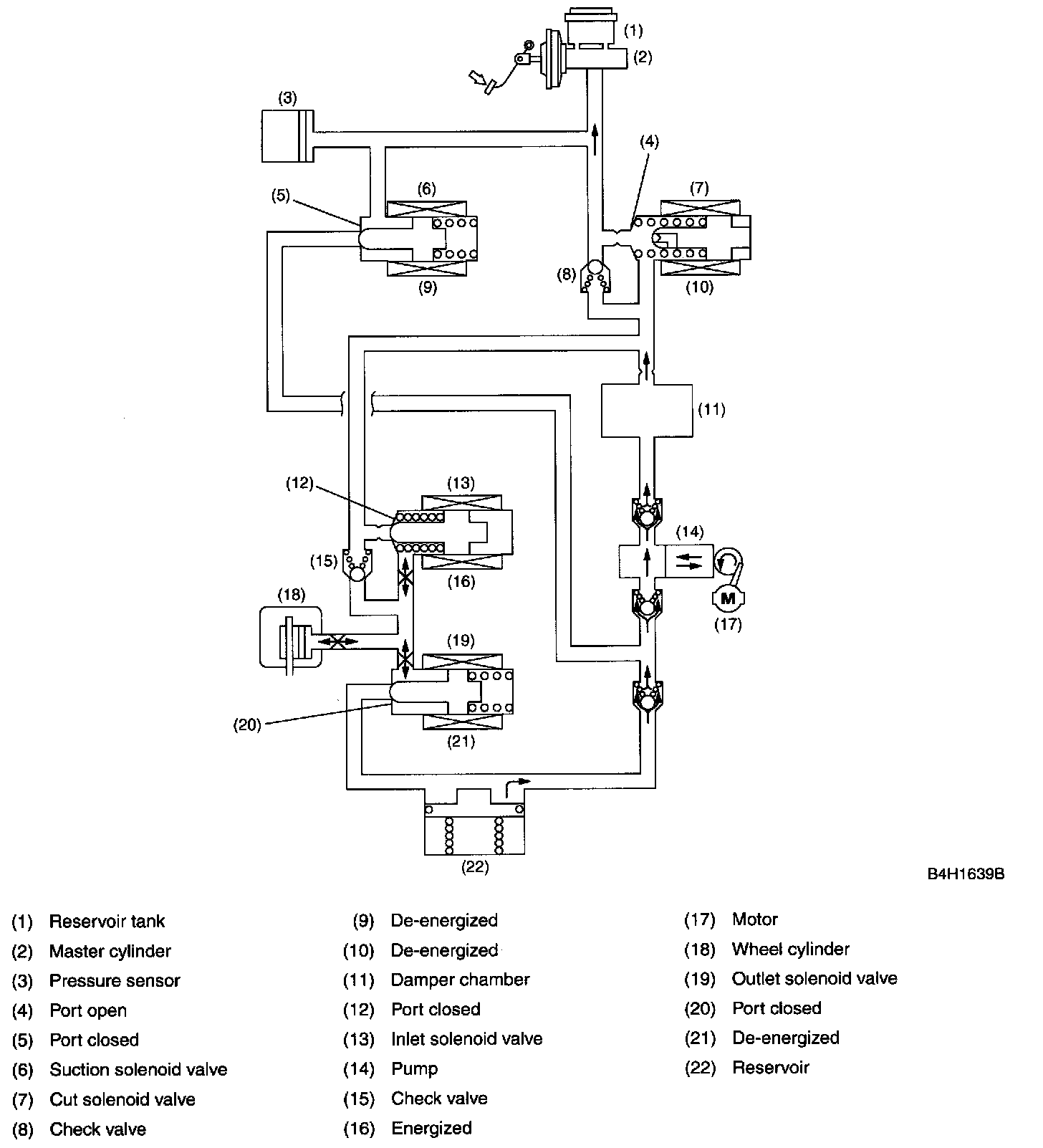
5. PRESSURE "INCREASE" CONTROL WITH BRAKE PEDAL NOT DEPRESSED





The cut solenoid valve and suction solenoid valve are energized while the other solenoid valves are not energized. This means that the ports of the cut solenoid valve and outlet solenoid valve are closed, while those of the inlet solenoid valve and suction solenoid valve are open.
In this state, the pump is activated, forcing the brake fluid in the master cylinder reservoir tank into the wheel cylinder through the open port of the suction solenoid valve and then through the open port of the inlet solenoid valve. The brake is then applied with an increased force.

NOTE: For simplicity of explanation, operation of the hydraulic control unit is represented by operation of a single wheel circuit.

6. PRESSURE "HOLD" CONTROL WITH BRAKE PEDAL NOT DEPRESSED





The cut solenoid valve, suction solenoid valve and inlet solenoid valve are all energized, while the outlet solenoid valve is de-energized. This means that the ports of the cut solenoid valve, inlet solenoid valve and outlet solenoid valve are closed, while the port of the suction solenoid valve is open.
In this state, the pump is activated, forcing the brake fluid in the master cylinder reservoir tank through the open port of the suction solenoid valve. The fluid passage is, however, blocked by the closed inlet solenoid valve. Since the port of the outlet solenoid valve is also closed, the fluid pressure in the wheel cylinder is held unreleased.
The fluid pressure generated by the pump becomes higher and higher because the port of the inlet solenoid valve is closed. When it reaches a certain level, the built-in relief valve of the cut solenoid valve opens and allows the brake fluid to return into the master cylinder reservoir tank.

NOTE: For simplicity of explanation, operation of the hydraulic control unit is represented by operation of a single wheel circuit.

7. PRESSURE "DECREASE" CONTROL WITH BRAKE PEDAL NOT DEPRESSED





The cut solenoid valve, suction solenoid valve, inlet solenoid valve and outlet solenoid valve are all energized. This means that the ports of the cut solenoid valve and inlet solenoid valve are closed, while those of the suction and outlet solenoid valves are open.
In this state, the pump is activated drawing the brake fluid from the reservoir and forcing it toward the master cylinder through the open port of the suction solenoid valve. The fluid passage is blocked by the inlet solenoid valve, so the fluid cannot flow toward the wheel cylinder. Since the port of the outlet solenoid valve is open, on the other hand, the brake fluid in the wheel cylinder is allowed to be drawn into the reservoir, so the fluid pressure in the wheel cylinder decreases. The brake fluid drawn into the reservoir is raised from it and forced into the master cylinder reservoir tank through the suction solenoid valve.
The pressure of the fluid in the passage toward the cut solenoid valve becomes higher and higher as the pump operates since the valve is closed. When the pressure reaches a certain level, the build-in relief valve of the cut solenoid valve opens, releasing the brake fluid into the master cylinder reservoir tank.

NOTE: For simplicity of explanation, operation of the hydraulic control unit is represented by operation of a single wheel circuit.