Seats: Adjustments

Need a step-by-step guide?

Get an AI-powered repair guide with parts lists, cost estimates, and clear instructions for your 2002 Subaru.

AI Repair Guides
FRONT SEAT

ADJUSTMENT

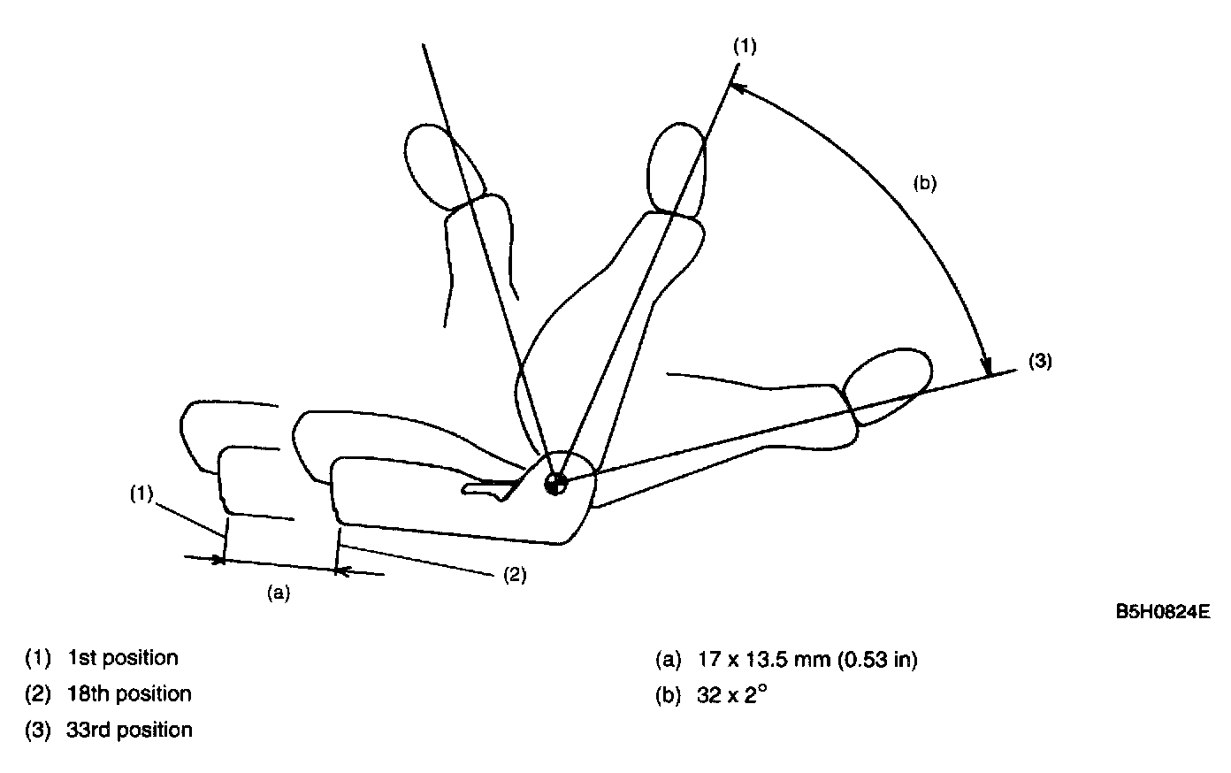
1. STANDARD SEAT

- The height of each headrest is adjustable to any of the 4 positions available at 18 mm (0.71 in) steps.
- The angle of each backrest is adjustable to any of the 32 positions available at steps.
- The front seat can be slid back and forth to one of the 17 positions available at 13.5 mm (0.53 in) steps.






2. POWER SEAT (6-WAY)

- The driver's 6-way power seat has a function of automatically adjusting its fore-aft position, cushion's front and rear portion heights, backrest angle, and headrest height in response to operation of the corresponding switches.
- The height of the headrest is adjustable to any of the 4 positions available at 18 mm (0.71 in) steps.
- The angle of the backrest is adjustable to any of the 32 positions available at steps.
- The front seat can be slid back and forth steplessly within a 229.5 mm (9.04 in) range.
- The front portion height of the seat cushion can be adjusted steplessly within a 35 mm (1.38 in) range.
- The rear portion height of the seat cushion can be adjusted steplessly within a 25 mm (0.98 in) range.






3. POWER SEAT (a-WAY)

- The driver's 8-way power seat has a function of automatically adjusting its fore-aft position, cushion's front and rear portion heights, backrest forward and backward angles, and headrest height in response to operation of the corresponding switches.
- The height of the headrest is adjustable to any of the 4 positions available at 18 mm (0.71 in) steps.
- The angle of the backrest is adjustable steplessly within a 18° range forward and a 58° range backward.
- The front seat can be slid back and forth steplessly within a 229.5 mm (9.04 in) range.
- The front portion height of the seat cushion can be adjusted steplessly within a 35 mm (1.38 in) range.
- The rear portion height of the seat cushion can be adjusted steplessly within a 25 mm (0.98 in) range.