Transmission Control Systems: Locations

Need a step-by-step guide?

Get an AI-powered repair guide with parts lists, cost estimates, and clear instructions for your 1998 Subaru.

AI Repair Guides
ELECTRICAL COMPONENTS LOCATION

TRANSMISSION

















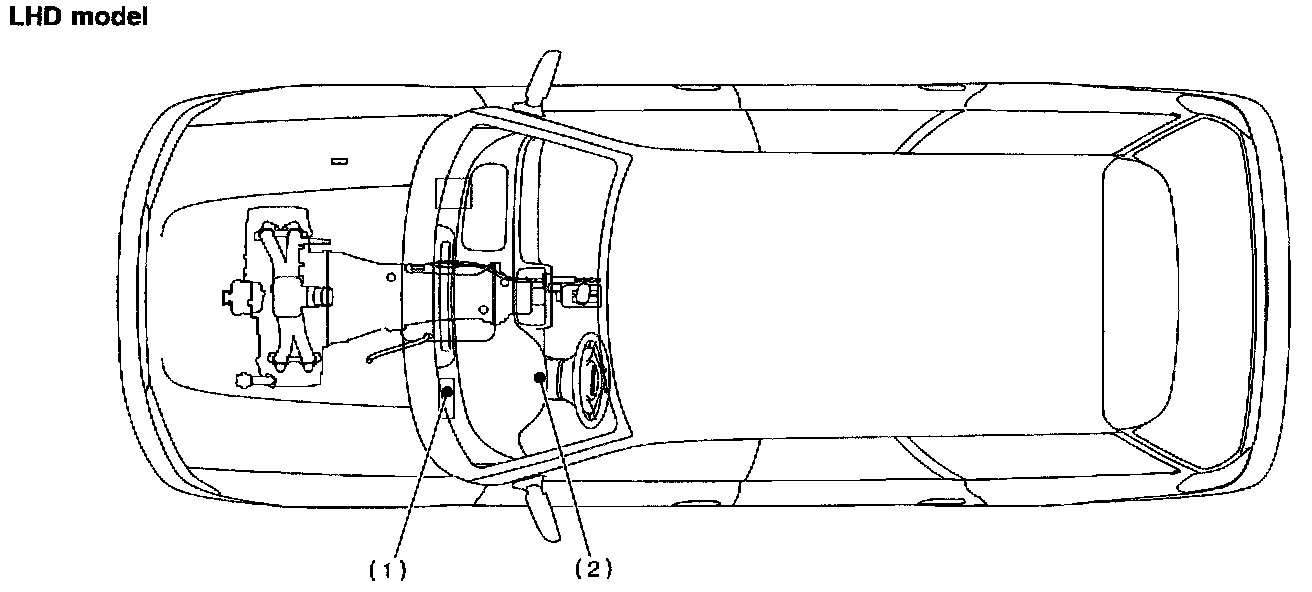
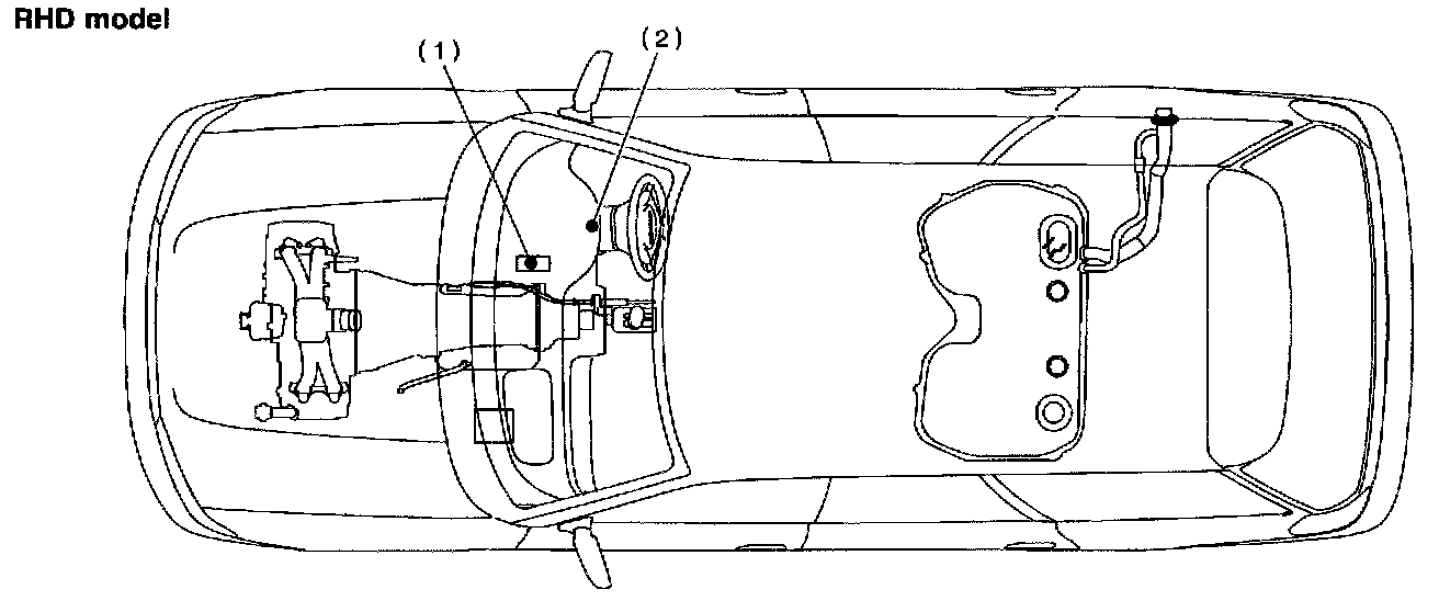
1. MODULE
(1) Transmission Control Module (TCM) (for AT vehicles)
(2) AT diagnostic indicator light (for AT vehicles)




















2. SENSOR
(1) Vehicle speed sensor 1 (for AT FWD vehicles only)
(2) Vehicle speed sensor 1 (for AT AWD vehicles only)
(3) Vehicle speed sensor 2 (for MT vehicles only)
(4) Vehicle speed sensor 2 (for AT vehicles only)
(5) ATF temperature sensor (for AT vehicles only)
(6) Brake light switch




















3. SOLENOID VALVE AND RELAY
- For AT vehicles
(1) Dropping resistor
(2) Inhibitor switch
(3) Shift solenoid valve 1
(4) Shift solenoid valve 2
(5) Shift solenoid valve 3
(6) Duty solenoid valve A
(7) Duty solenoid valve B

- For MT vehicles
(1) Neutral position switch (FWD models only)
(2) Neutral position switch (AWD models only)