Replacement Procedure

Need a step-by-step guide?

Get an AI-powered repair guide with parts lists, cost estimates, and clear instructions for your 2002 Saturn.

AI Repair Guides
Tools Required

SA 9303BR Stop Lamp Switch Adjustment Gage





1. Disable the SIR system. Refer to "Disabling the SIR System" in the 2000/2002 S-Series Restraints Service Manual.

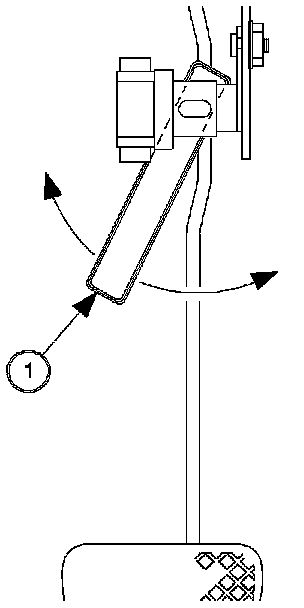
2. On Sedans, remove windshield defroster nozzle duct by rotating front of duct up and away from windshield. On Coupes, windshield defroster nozzle duct cannot be removed because of windshield rake angle. Push windshield defroster duct as far as possible to the passenger side to gain access to the brake pedal.





Notice
Do not pry on vacuum booster push rod while removing or damage will occur.

3. Remove vacuum booster push rod retainer and washer.

4. Remove brake pedal pivot bolt and nut by accessing them through the top of the instrument panel.

5. Remove vacuum booster push rod from brake pedal push rod pin.

6. Remove brake pedal from vehicle.





7. Position replacement brake pedal in vehicle.

8. Apply All-Purpose or Multi-Purpose chassis grease (or equivalent) to brake pedal push rod pin and place vacuum booster push rod onto pin.

9. Install brake pedal pivot bolt and nut by accessing them through top of instrument panel.

Tighten

Tighten the brake pedal pivot bolt to 22 Nm (16 lb ft).





Notice
Do not pry on vacuum booster push rod while removing or damage will occur.

10. Install vacuum booster push rod retainer and washer. Stop Lamp Switch Adjustment.





11. Loosen the stop lamp switch mounting nut sufficiently to allow the switch to move forward and rearward in the adjustment slot (1).

12. Install Stop Lamp Switch Adjustment Gage SA9303BR (2) between the switch and the switch actuator pad (3) on the brake pedal arm being sure that the plunger (4) protrudes through the slot in the gage.

13. While pulling up with moderate force on the brake pedal assembly, push the switch forward against the gage.

Important
Hold switch perpendicular to actuator pad on the brake pedal arm to prevent switch from rotating out of alignment when tightening mounting nut.





14. Tighten the switch mounting nut.

Tighten

Tighten the stop lamp switch mounting nut to 10 Nm (89 lb in).

15. Release the brake pedal assembly.

16. With the pedal released and the adjustment gage (1) still in position, tap the gage side-to-side:

^ If gage swings freely side-to-side, proceed to Step 17.

^ If gage sticks or does not swing freely, repeat Steps 11 through 16.





17. With adjustment gage in position, pull up on brake pedal with very light force, approximately 9 N (2 lbs) and tap gage side-to-side:

^ If gage swings freely, repeat Steps 11 through 17.

^ If gage sticks and/or does not swing freely, proceed to Step 18.

18. Inspect switch plunger:

^ If 0.8-1.2 mm (0.03-0.05 in) of plunger is visible between switch and switch actuator pad on brake pedal arm, switch is correctly adjusted. The height of the rounded crown of the plunger is equivalent to 1 mm (0.04 in).

^ If more than 1.2 mm (0.05 in) or less than 0.8 mm (0.3 in) of plunger is visible, repeat Steps 15 through 21.





19. On Sedans, install windshield defroster nozzle duct into vehicle by snapping windshield defroster nozzle duct onto mode valve assembly and install screws. On Coupes, move windshield defroster nozzle duct from passenger side and snap windshield defroster nozzle duct onto mode valve assembly and install screws.

20. Enable the SIR System. Refer to "Enabling the SIR System" in the 2000/2002 S-Series Restraints Service Manual.

Important
Do not cover any existing underhood labels when affixing Campaign Completion Label.

21. Affix Campaign Completion Label on a clean and dry surface of radiator core support, in an area clearly visible when hood is raised. For more information, refer to "Campaign Completion Label" in this bulletin.