Installation

Need a step-by-step guide?

Get an AI-powered repair guide with parts lists, cost estimates, and clear instructions for your 1996 Saturn.

AI Repair Guides



1. Place the cable into the V-slot of the terminal.
2. Press the cable into the V-slot by hand and initiate closing the cover.







3. Close the cover completely by pressing the cable into the diagnostic service probe terminal with pliers until the cover locks shut. A snap should be felt or heard when the cover locks.
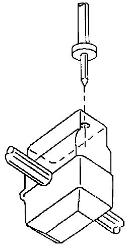
4. To probe the wire, insert the multimeter probe into the housing through the gel to contact the terminal. The housing has a thin wall of material to pierce with the multimeter probe. In some locations the multimeter probe should be used to pierce the probe opening, before the probe is installed on the wire.

IMPORTANT: Once the probe is installed, it should not be removed. The diagnostic service probes were designed to stay on the wires permanently. The gel material inside the probe will seal the wire and allow the wire to be probed several times.