Ignition, Basic Function

Need a step-by-step guide?

Get an AI-powered repair guide with parts lists, cost estimates, and clear instructions for your 2004 Saab.

AI Repair Guides


Ignition, Basic Function

1. Idling speed ignition timing
With idle speed control active, the timing is adjusted to stabilize the idling speed. The value is sent to box 3.


Boxes 1 Through 6:






2. Normal ignition timing
When idle speed control is inactive, the ignition timing is read from a load and engine speed dependent matrix. The value from the matrix is optimized for the lowest fuel consumption (best engine torque). The value is sent to box 3.

3. Selection of ignition timing
One of the ignition timing calculations is selected depending on which function is active. The value is sent to box 6.

4. Catalytic converter heating timing
In order to heat up the catalytic converter as fast as possible after start, the ignition will be retarded. This is a compensation matrix that is added to the value in box 3. The matrix is dependent on load and engine speed.

5. Engagement of catalytic converter preheating timing
The function is active when the coolant temperature is above -10 degree C but below +64 degree C.

6. Total
The value from box 5 is added to the value from box 3.

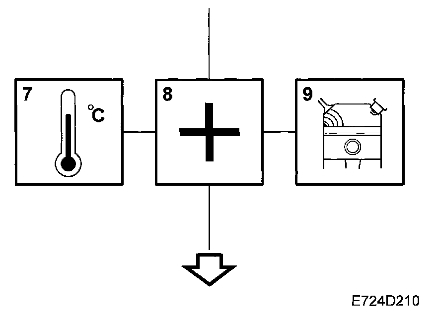
7. Compensation
The ignition timing is corrected depending on the engine coolant temperature and intake air temperature. The value is sent to box 6.


Boxes 7 Through 9:






8. Knock control
If knocking occurs, a timing retardation will be calculated. The value is sent to box 6.

9. Total
The compensation angle and knock retardation are totalled to give the current ignition timing. The value is sent to box 7.

10. Selection of ignition timing
Starting ignition timing is selected when the engine has not yet been started. The value is sent to box 9.


Boxes 10 Through 12:






11. Starting ignition timing
Initial ignition timing is calculated depending on intake air temperature and engine coolant temperature. The value is sent to box 9 via box 7.

12. Activate relevant trigger
At the calculated crankshaft angle, the microprocessor controls the transistor for the trigger that is next in the firing order.