Power Supply, Control Module

Need a step-by-step guide?

Get an AI-powered repair guide with parts lists, cost estimates, and clear instructions for your 2004 Saab.

AI Repair Guides





Diagram:






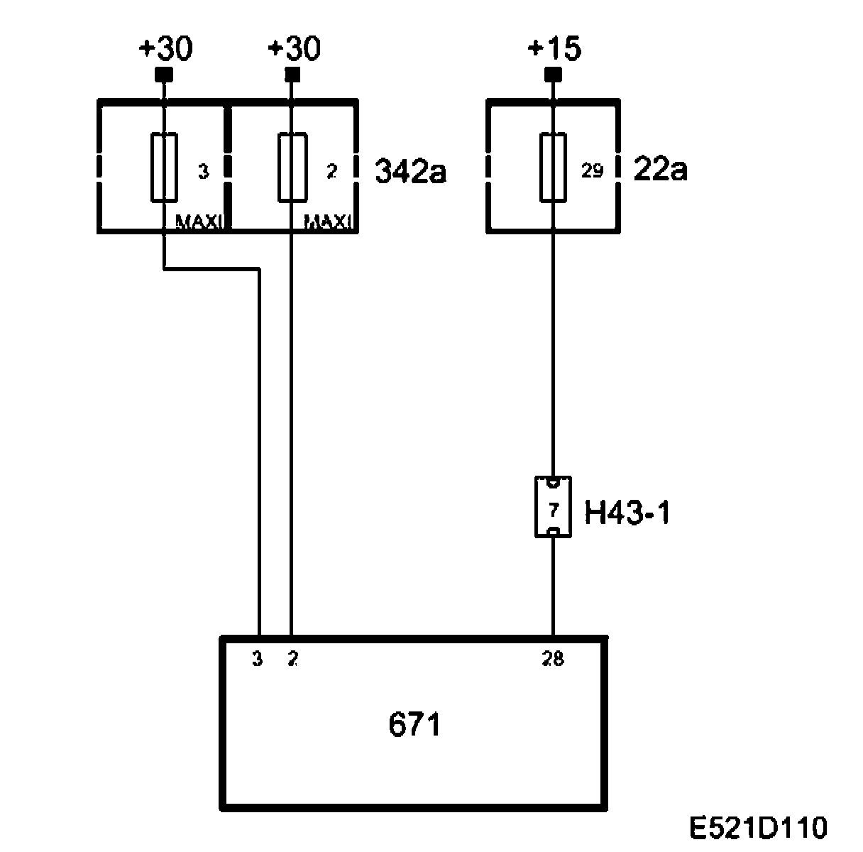
Power Supply

Battery voltage (+30 circuit)
+30 voltage is supplied via Maxi fuses 2 and 3 (342a) to pins 2 and 3 respectively on the control module.

Battery voltage (+15 circuit)
+15 voltage is supplied via fuse 29 (22a) to pin 28 on the control module.