Front, Subframe Bushes

Need a step-by-step guide?

Get an AI-powered repair guide with parts lists, cost estimates, and clear instructions for your 2004 Saab.

AI Repair Guides
Subframe bushes
To remove
1. Remove the subframe.





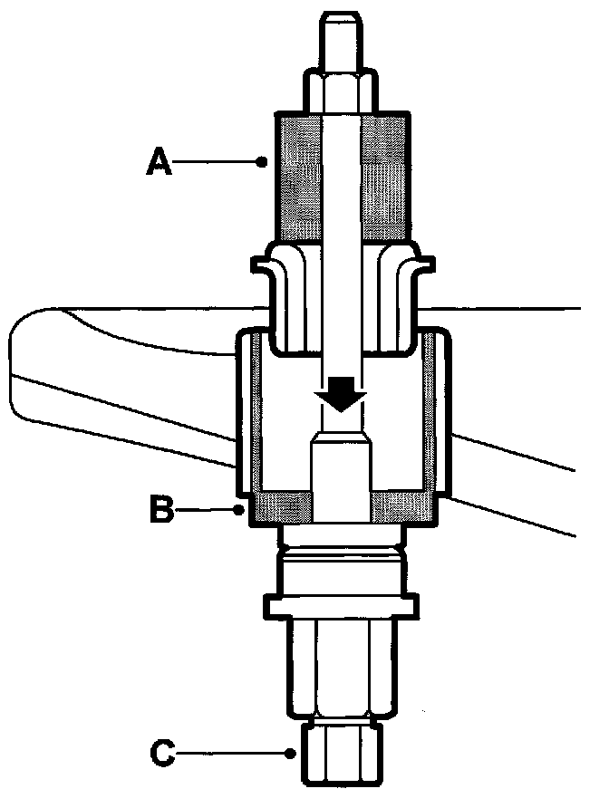
2. Remove the bush using 89 96 779 Press sleeve kit, front assembly.
A: KM-907-11
B: KM-907-12
C: KM-907-30

To fit

Important: The bush must be mounted with one opening facing forwards and one facing rearwards.





1. Lubricate the bush with soap solution and fit it using 89 96 779 Press sleeve kit, front assembly.
A: KM-907-14
B for front and rear bush: KM-907-13
B for middle bush: 89 96 878
C: KM-907-30
2. Fit the subframe.