Checking Control Module Sensor Input 1

Need a step-by-step guide?

Get an AI-powered repair guide with parts lists, cost estimates, and clear instructions for your 2004 Saab.

AI Repair Guides



Checking Control Module Sensor Input 1












^ Contact Trionic.

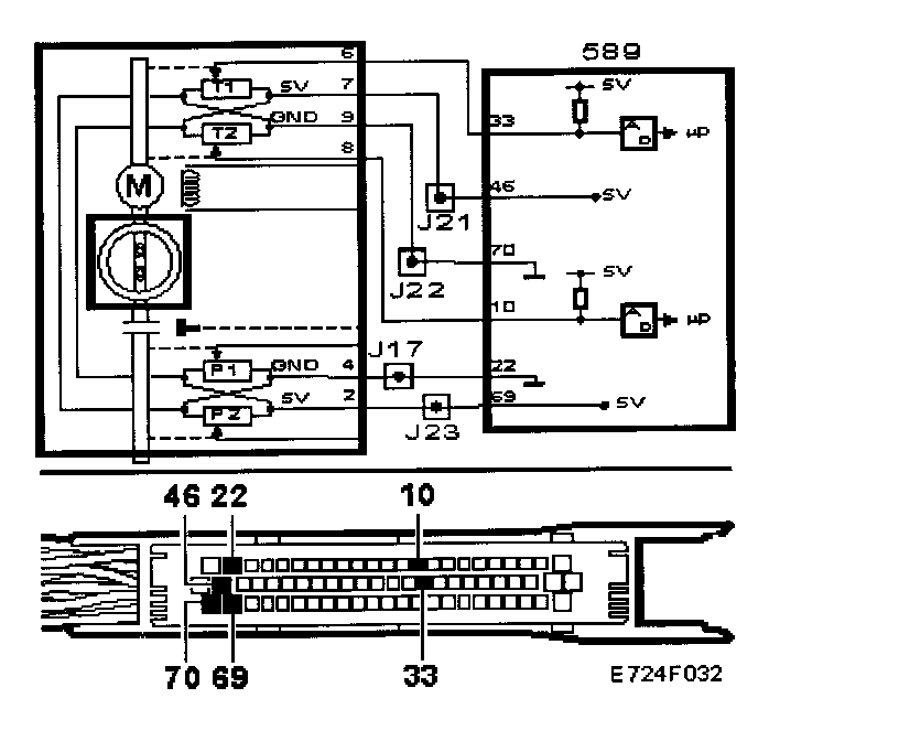
Reading: Throttle Position Sensor 1

The reading should be 4.95 V - 5 V

Checking the wiring harness.
Jiggle the leads and in-line connectors at several places and in different directions to reveal intermittent breaks and short circuits in the wiring harness. Observe the multimeter, test lamp or diagnostic tool while doing this.

Is the function correct?

NO ^ [1][2]Fault Conditions

YES ^ Continue With Checking Control Module Sensor Input 1

















^ Connect a jumper lead between pins 6 and 9 of the female connector.







Reading: Throttle Position Sensor 1
The reading should be 0 V -0.05 V

Checking the wiring harness.
Jiggle the leads and in-line connectors at several places and in different directions to reveal intermittent breaks and short circuits in the wiring harness. Observe the multimeter, test lamp or diagnostic tool while doing this.

Is the function correct?

NO ^ [1][2]Fault Conditions

YES ^ [1][2]Checking Control Module Sensor Input 2