Checking the Sensor Preheating Control Module Output

Need a step-by-step guide?

Get an AI-powered repair guide with parts lists, cost estimates, and clear instructions for your 2004 Saab.

AI Repair Guides



Checking the Sensor Preheating Control Module Output












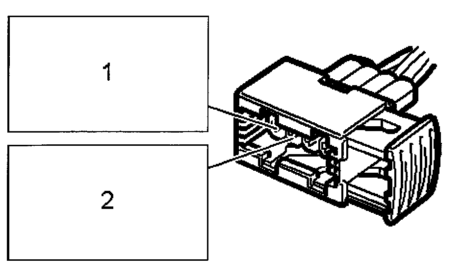
^ Connect test lamp 86 11 857 to pins 1 and 2 of the female connector.







Activate: Preheating O2S 1 (ON)







^ The test lamp should light.

Checking the wiring harness
Jiggle the leads and in-line connectors at several places and in different directions to reveal intermittent breaks and short circuits in the wiring harness. Observe the multimeter, test lamp or diagnostic tool while doing this.

Is the function correct?

NO ^ Rectifying the Lead - II

YES ^ Changing Components