Solid State Ignition

Need a step-by-step guide?

Get an AI-powered repair guide with parts lists, cost estimates, and clear instructions for your 1985 Renault.

AI Repair Guides

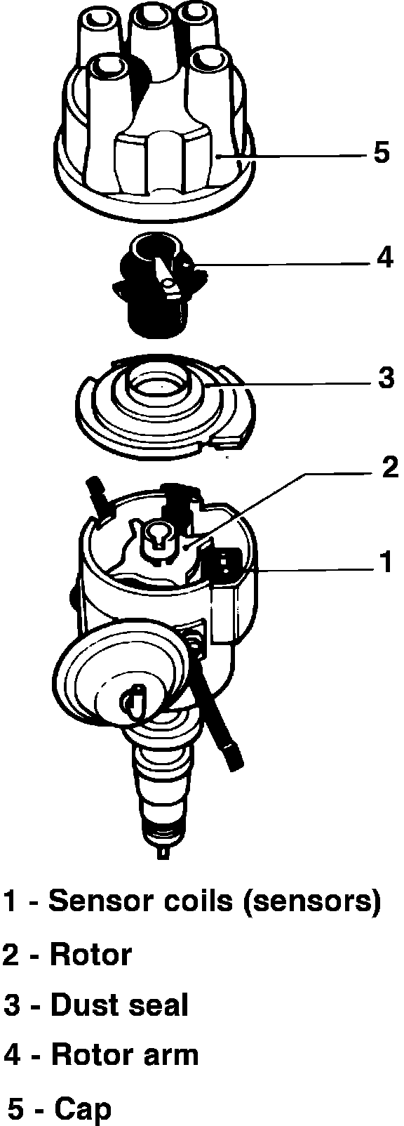
Fig. 1 Solid state electronic ignition distributor w/single sensor:




Fig. 2 Solid state electronic ignition distributor w/dual sensors:





Engine Will Not Start
1. Turn ignition On and remove distributor cap.
2. Disconnect ignition coil high tension lead from distributor cap and hold 1/8 inch from good ground. Use insulated pliers or other suitable tool when holding lead.
3. Pass a magnet over the sensor coil, Figs. 1 and 2. A spark should jump the gap between the coil high tension lead and ground.
4. If sparking does not occur, check that the coil primary lead is not disconnected or damaged. Connect ohmmeter across sensor coil terminals and observe meter for movement of needle. If needle does not move, replace sensor coil.
5. Connect ohmmeter between one sensor coil terminal and distributor ground. If meter needle moves, replace sensor coil.
6. If sensor coil is operating satisfactorily, turn ignition On, then connect voltmeter across ignition coil terminals.
7. Pass a magnet over the distributor sensor coil and observe voltmeter needle. If needle moves, replace ignition coil. If not, replace electronic module.
8. If ignition coil is operating satisfactorily, disconnect distributor electrical connector. Connect TDC sensor leads to each connector pin at electronic module.
9. Pass magnet over top dead center sensor boot. If sparking occurs, repair or replace distributor as necessary.



Engine Misfires, Runs Roughly, Or Cuts Out
If it has been determined that the cause of engine malfunction is in the ignition system, check the condition of the spark plugs and secondary leads and replace as necessary. If engine still runs poorly after these repairs have been made, replace the ignition module.
Do not disconnect any spark plug lead while the engine is running or damage to the distributor will result.