Cylinder Head Assembly

Need a step-by-step guide?

Get an AI-powered repair guide with parts lists, cost estimates, and clear instructions for your 2004 Mercury.

AI Repair Guides


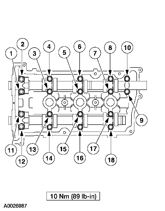
Cylinder Head Torque Specifications






Camshaft cap bolts 10 Nm (89 inch lbs.)






Upper intake manifold bolts 10 Nm (89 inch lbs.)






lower intake manifold bolts 10 Nm (89 inch lbs.)

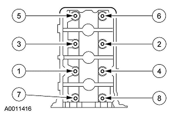
Exhaust Manifold






Right Hand Exhaust Manifold Tightening Sequence






Left Hand Exhaust Manifold Tightening Sequence

Exhaust manifold bolts 20 Nm (15 ft.lbs.)


Cylinder Head








NOTE: New cylinder head bolts must be installed. They are torque-to-yield designed and cannot be reused.


Stage 1: Tighten bolts to 40 Nm (30 ft. lbs).
Stage 2: Tighten bolts to 90 degrees.
Stage 3: Loosen one full turn.
Stage 4: Tighten bolts to 40 Nm (30 ft. lbs).
Stage 5: Tighten bolts to 90 degrees.
Stage 6: Tighten bolts to 90 degrees.

Camshaft Pulley
The OEM pulley is pressed on 4.74 mm (0.18 inch) past flush of the end of the camshaft.