Engine Control Module: Service and Repair

Need a step-by-step guide?

Get an AI-powered repair guide with parts lists, cost estimates, and clear instructions for your 2004 Mercury.

AI Repair Guides
POWERTRAIN CONTROL MODULE (PCM)

REMOVAL

All vehicles
1. Disconnect the battery ground cable.
2. Remove the wiper mounting arm and pivot shaft assembly.

Vehicles with 3.0L 2V engine







3. Remove the intake manifold runner (IMRC) control valve.
1 Disconnect the IMRC valve electrical connector.
2 Remove the IMRC valve retainer screws and the IMRC valve.

All vehicles







4. Disconnect the powertrain control module (PCM) electrical connector and remove the gasket.

Vehicles with 3.0L 2V engine







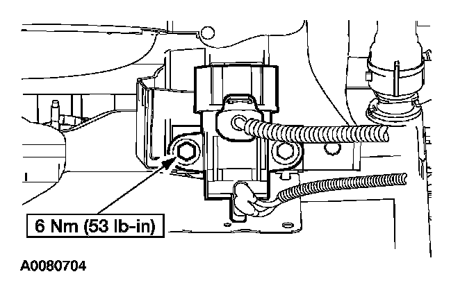
5. Disconnect the vacuum hose from the exhaust gas recirculation (EGR) valve.







6. Remove the EGR vacuum regulator solenoid inboard fastener.







7. Loosen the outboard EGR vacuum regulator solenoid retaining screw and rotate the unit out of the way to allow clearance for PCM removal.

All vehicles







8. Remove the retaining bolts and the PCM.

INSTALLATION
1. To install, reverse the removal procedure.