Main Relay (Computer/Fuel System): Testing and Inspection

Need a step-by-step guide?

Get an AI-powered repair guide with parts lists, cost estimates, and clear instructions for your 1991 Mazda.

AI Repair Guides

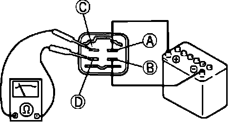
Main Relay Testing:






1. Verify that relay "clicks" when ignition is switched "ON" and "OFF."
2. Unplug relay connector. Check that there is no continuity across terminals "C" and "D."
3. Apply 12V to relay terminal "A" and ground terminal "B."
4. Check that continuity now exists across terminals "C" and "D."
5. If not as specified, replace relay.