Electronic Throttle Control Module: Description and Operation

Need a step-by-step guide?

Get an AI-powered repair guide with parts lists, cost estimates, and clear instructions for your 1996 Lincoln.

AI Repair Guides





TRACTION CONTROL SERIES THROTTLE HARDWARE






Series Throttle
The Traction Control Series Throttle is an electronic throttle consisting of a two bore throttle body casting, a throttle shaft and plates attached to a sector gear, a spring assembly for plate return, a hybrid type stepper motor which drives the throttle shaft via the sector plate, and a Throttle Position Sensor (TP-B). The throttle shaft/plates are normally at the Wide Open Throttle (WOT) so the airflow is not disrupted in typical driving situations. The Series Throttle acts in response to Powertrain Control Module (PCM) commands to reduce engine torque via airflow control.






Series Throttle Stepper Motor
The Series Throttle Stepper Motor is a hybrid stepper motor used to electronically control plate position on the Series Throttle. It is used with a Series Throttle Controller (STC) to sequence signals to each of four coils in the motor. The motor is capable of moving 0.9 degrees/step at 1600 steps/second. This enables the Series Throttle plates to move 0.3 degrees/step via a 3:1 gear ratio.






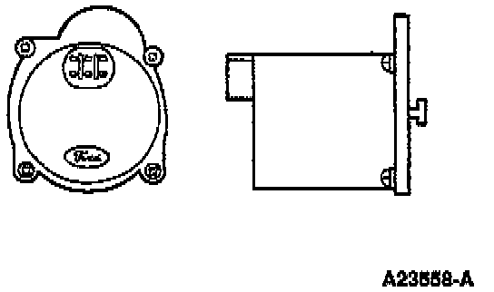
Throttle Position Sensor B
The Throttle Position Sensor B (TP-B) is an electronic rotary position sensor used to monitor traction control series throttle plate position. The TP-B sensor provides the PCM with information on Series Throttle travel during each power up initialization. It also provides diagnostic monitoring during all other operational modes. The TP-B sensor does not have electrical wipers and is considered a noncontacting sensor. The TP-B sensor uses Reference Voltage (VREF) for power and outputs a DC voltage proportional to the angle of rotation.






Series Throttle Controller
The Series Throttle Controller (STC) is a driver module used to operate the four phase Series Throttle Stepper Motor. The STC module operates in open loop and functions strictly on PCM commands. The stepper motor is positioned by the STC based on the PCM signal. The PCM receives feedback on stepper motor position from the TP-B sensor. In the absence of a PCM signal across the (TAPW) circuit to the STC, the Series Throttle is kept in the open position. The STC module also protects against harness shorts to ground. The motor is shut off in the event of a short and the module will recover when the short is corrected.