Exhaust Gas Recirculation System Monitor

Need a step-by-step guide?

Get an AI-powered repair guide with parts lists, cost estimates, and clear instructions for your 1996 Lincoln.

AI Repair Guides
PURPOSE
The Differential Pressure Feedback EGR Monitor is an on-board strategy designed to test the integrity and flow characteristics of the EGR system.

OPERATION
The monitor is activated during EGR system operation and after certain base engine conditions are satisfied. Input from the Engine Coolant Temperature (ECT), Intake Air Temperature (IAT), Throttle Position (TP) and Crankshaft Position (CKP) sensors is required to activate the EGR Monitor. Once activated, the EGR Monitor will perform each of the tests described below during the engine modes and conditions indicated. Some of the EGR Monitor tests are also performed during On Demand Self-Test.

DTCs and MIL Operation






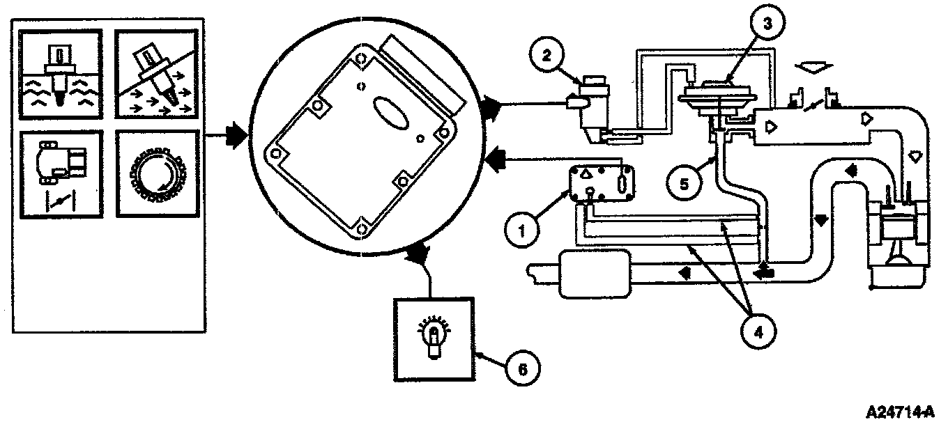
1 The D.P.F. EGR sensor and circuit are continuously tested for opens and shorts. The monitor looks for the DPFE circuit voltage to exceed the maximum or minimum allowable limits.

The DTCs associated with this test are DTCs P 1400 and P 1401.

2 The EGR Vacuum Regulator Solenoid is continuously tested for opens and shorts. The monitor looks for an EVR circuit voltage that is inconsistent with the EVR circuit commanded output state.

The DTC associated with this test is DTC P 1409.

3 The test for a stuck open EGR valve or EGR flow at idle is continuously performed whenever at idle (TP sensor indicating closed throttle). The monitor compares the DPFE circuit voltage at idle to the DPFE circuit voltage stored during key on engine off to determine if EGR flow is present at idle.

The DTC associated with this test is DTC P0402.

4 The DPFE sensor hoses are tested once per drive cycle for disconnect and plugging. The test is performed with EGR valve closed and during a period of acceleration. The PCM will momentarily command the EGR valve closed. The monitor looks for the DPFE sensor voltage to be inconsistent for a no flow voltage. A voltage increase or decrease during acceleration while the EGR valve is closed may indicate a fault with a signal hose during this test.

The DTCs associated with this test are DTCs P1405 and P1406.

5 The EGR flow rate test is performed during a steady state when engine speed and load are moderate and EVR duty cycle is high. The monitor compares the actual DPFE circuit voltage to a desired EGR flow voltage for that state to determine if EGR flow rate is acceptable or insufficient.

The DTCs associated with this test are DTCs P0401 and P1408.

6 The MIL is activated after one of the above tests fail on two consecutive drive cycles.