Power and Ground Distribution: Testing and Inspection

Need a step-by-step guide?

Get an AI-powered repair guide with parts lists, cost estimates, and clear instructions for your 2010 Honda.

AI Repair Guides



Power Relay Test

Special Tools Required

- Relay puller 07AAC-000A1A0
Use this chart to identify the type of relay, then do the test listed for it.





*: Carefully remove the relay using the relay puller. Do not use pliers. Pliers will damage the relay.






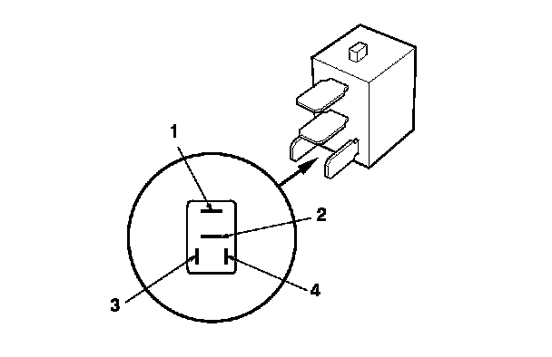
Normally-open Four-terminal Type

Check for continuity between the terminals.

- There should be continuity between terminals No. 1 and No. 2 when battery power is connected to terminal No. 4, and body ground is connected to terminal No. 3.

- There should be no continuity between terminals No. 1 and No. 2 when power is disconnected.









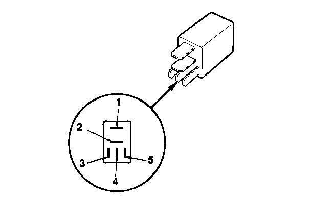
Five-terminal Type

Check for continuity between the terminals.

- There should be continuity between terminals No. 1 and No. 2 when the battery power is connected to terminal No. 5, and body ground is connected to terminal No. 3.

- There should be continuity between terminals No. 1 and No. 4 when power is disconnected.