HandsFreeLink Control Unit Input Test/Replacement (With Navigation)

Need a step-by-step guide?

Get an AI-powered repair guide with parts lists, cost estimates, and clear instructions for your 2010 Honda.

AI Repair Guides



HandsFreeLink Control Unit Input Test/Replacement

1. Remove the center console. Center Console Removal/Installation

2. Remove the console lower box. Overhaul

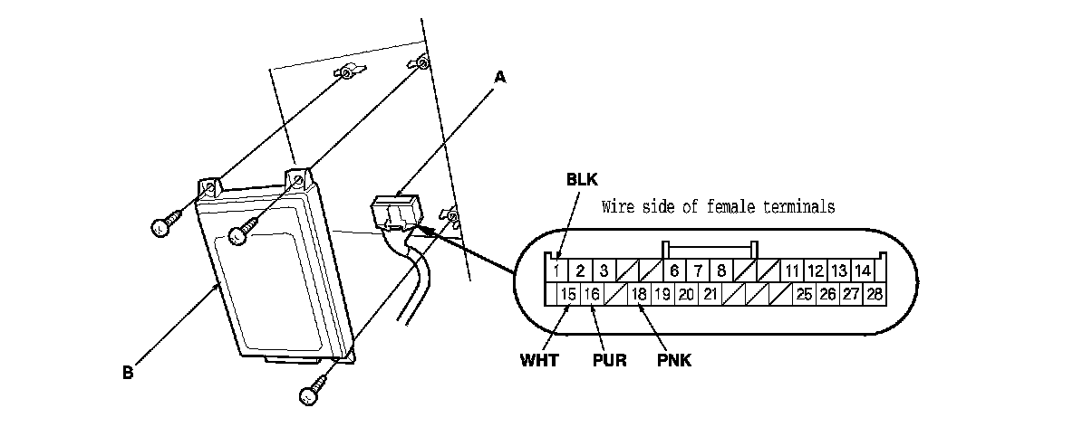
3. Disconnect the 28P connector (A) from the HandsFreeLink control unit (B).

4. Inspect the connector and socket terminals for a good pinfit to be sure they are all making good contact.
- If the terminals are bent, loose or corroded, repair them as necessary, and recheck the system.

- If the terminals look OK, go to step 5.

5. Reconnect the connector and make these input tests at the connector.
- If any test indicates a problem, find and correct the cause, then recheck the system.

- If all the input tests prove OK, go to step 6.





6. Disconnect the 28P connector again, and make this input test at the connector.
- If the test indicates a problem, find and correct the cause, then recheck the system.

- If the input test proves OK, the HandsFreeLink control unit must be faulty, replace it.