Control System

Need a step-by-step guide?

Get an AI-powered repair guide with parts lists, cost estimates, and clear instructions for your 1995 Honda.

AI Repair Guides




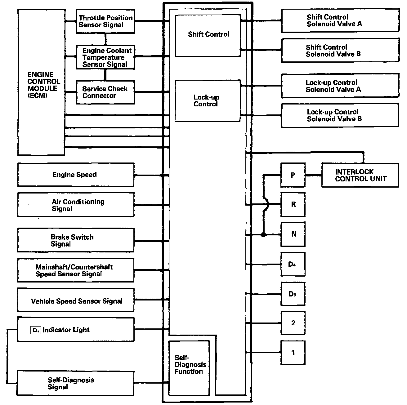
The Electronic Control System consists of the transmission control module (TCM), sensors, and four solenoid valves. shifting and lock-up are electronically controlled for comfortable driving under all conditions. the TCM is located below the dashboard, behind the right side kick panel on the passenger's side.

SHIFT CONTROL
Getting a signal from each sensor, the TCM determines the appropriate gear and activates the shift control solenoid valves A and/or B.





The combination of driving signals to shift control solenoid valves A and B is shown in the table.