Thread Repair Specifications
Engine Block- Front/Rear Views
Engine Block- Left/Right Side Views
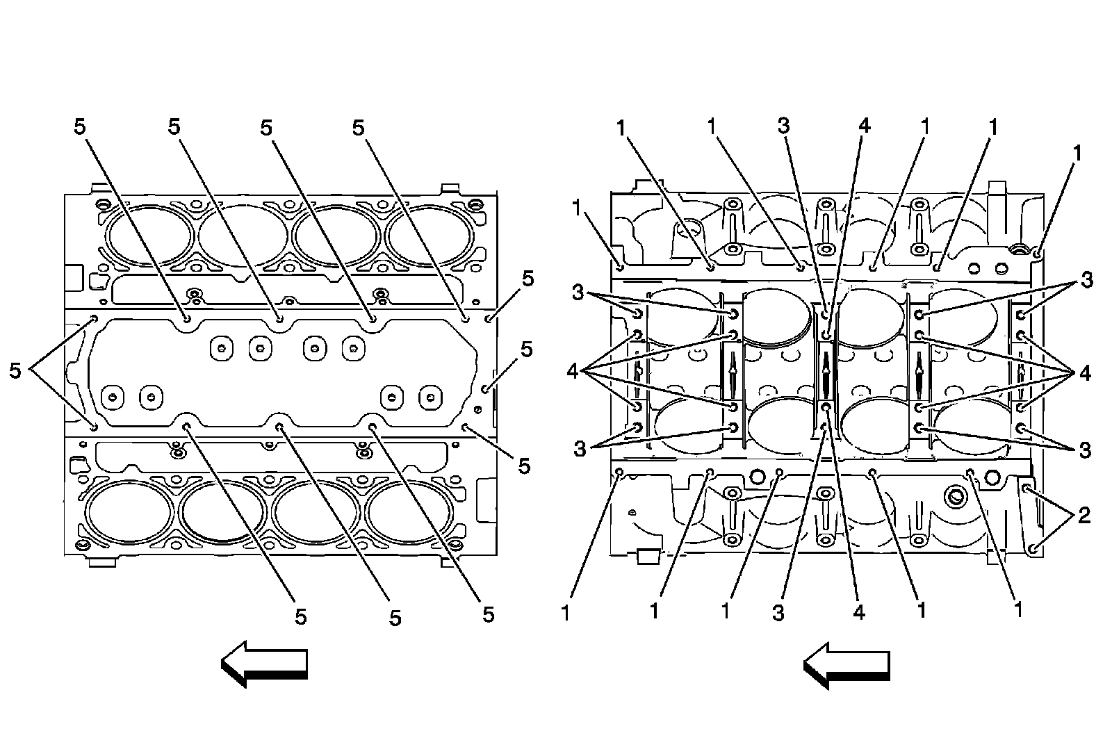
Engine Block- Top/Bottom Views
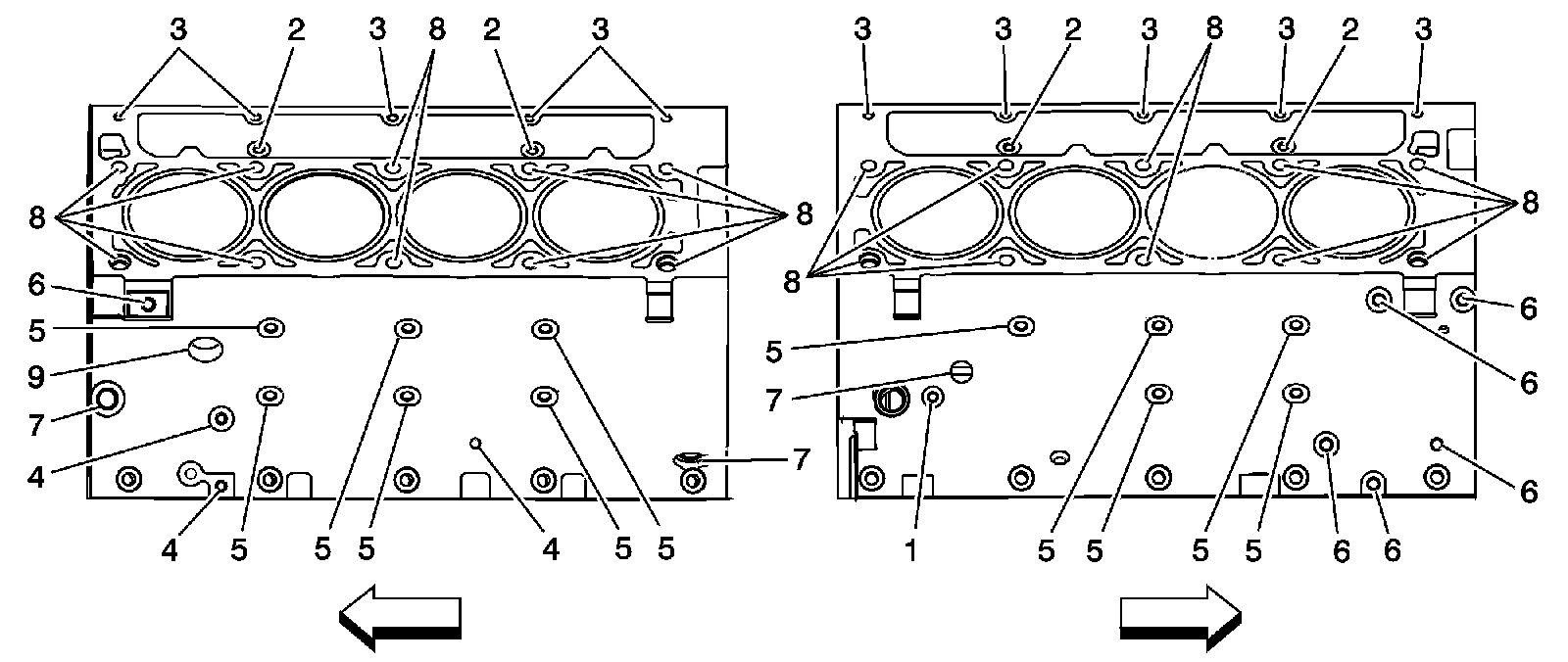
Cylinder Head- Top/End Views
Cylinder Head- Intake/Exhaust Side Views
Need a step-by-step guide?
Get an AI-powered repair guide with parts lists, cost estimates, and clear instructions for your 2013 GMC.