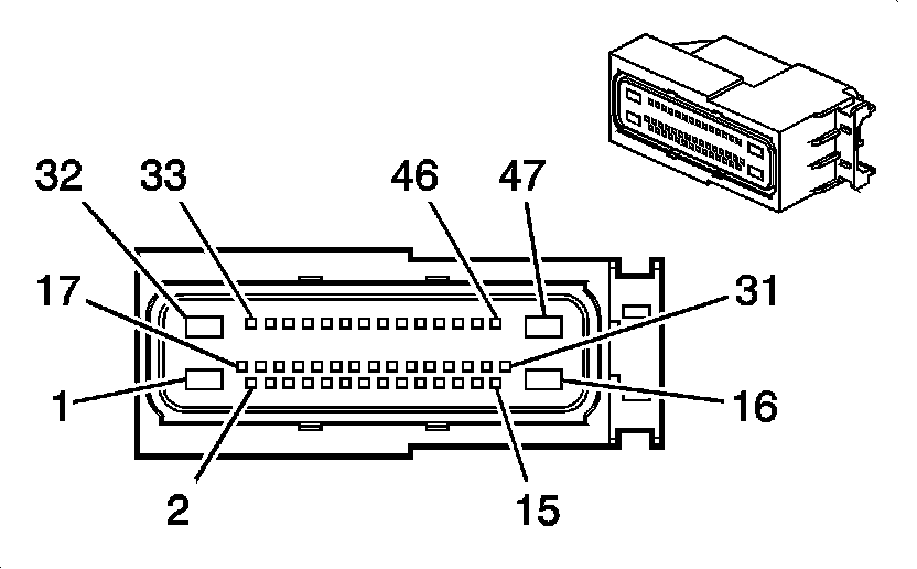
Fuel Pump Flow Control Module (without JL1)

Need a step-by-step guide?

Get an AI-powered repair guide with parts lists, cost estimates, and clear instructions for your 2013 GMC.

AI Repair Guides



Component Connector End Views

Fuel Pump Flow Control Module (without JL1)